第4【提出会社の状況】

1【株式等の状況】

(1)【株式の総数等】

①【株式の総数】

種類

発行可能株式総数(株)

普通株式

17,000,000

17,000,000

 (注) 2026年1月7日開催の臨時株主総会決議に基づく定款変更により、発行可能な株式の総数を50万株から1,700万株に変更しております。

 

②【発行済株式】

種類

発行数(株)

上場金融商品取引所名又は登録認可金融商品取引業協会名

内容

普通株式

4,312,300

非上場

株主としての権利内容に何ら限定のない当社における標準となる株式であります。

4,312,300

 (注)1.2025年12月12日開催の取締役会決議により、2026年1月8日付で普通株式1株につき100株の割合で株式分割を行っております。これにより発行済株式総数は4,269,177株増加し、4,312,300株となっております。

2.2026年1月7日開催の臨時株主総会決議に基づく定款変更により、1単元を100株とする単元株制度を採用しております。

 

(2)【新株予約権等の状況】

①【ストックオプション制度の内容】

[1]第2回新株予約権

決議年月日

2022年9月30日

付与対象者の区分及び人数(名)

当社取締役3名

新株予約権の数(個)※

4,500(注)1

新株予約権の目的となる株式の種類、内容及び数(株)※

普通株式4,500[450,000](注)1・6

新株予約権の行使時の払込金額(円)※

11,000[110](注)2・6

新株予約権の行使期間※

2024年10月1日~2032年9月30日

新株予約権の行使により株式を発行する場合の株式の発行価格及び資本組入額(円)※

発行価格11,000[110](注)6

資本組入額5,500[55](注)6

新株予約権の行使の条件※

(注)3

新株予約権の譲渡に関する事項※

譲渡による募集新株予約権の取得については、当社取締役会の決議による承認を要するものとする。

組織再編成行為に伴う新株予約権の交付に関する事項※

(注)5

※ 当事業年度の末日(2025年3月31日)における内容を記載しております。最近事業年度の末日から提出日の前月末現在(2026年2月28日)にかけて変更された事項については、提出日の前月末現在における内容を[ ]内に記載しており、その他の事項については最近事業年度の末日における内容から変更はありません。

 

 (注)1.新株予約権1個につき目的となる株式数は、最近事業年度の末日現在は1株、提出日の前月末現在は100株であります。

ただし、新株予約権の割当日後、当社が株式分割又は併合を行う場合には、次の算式により目的となる株式の数を調整し、調整により生じる1株未満の株数は切り捨てるものとする。

調整後付与株式数=調整前付与株式数×分割(又は併合)の比率

新株予約権の割当日後、当社が合併、会社分割又は資本金の額の減少を行う場合その他これらの場合に準じ付与株式数の調整を必要とする場合には、合理的な範囲で、付与株式数は適切に調整されるものとする。

2.新株予約権の割当日後、当社普通株式の株式分割、株式併合を行う場合、次の算式により行使価額を調整し、調整により生ずる1円未満の端数は切り上げるものとする。

調整後行使価額=調整前行使価額×

分割(又は併合)の比率

また、本新株予約権の割当日後、当社が当社普通株式につき時価を下回る価額で新株の発行又は自己株式の処分を行う場合(新株予約権の行使に基づく新株の発行及び自己株式の処分並びに株式交換による自己株式の移転の場合を除く。)、次の算式により行使価額を調整し、調整による1円未満の端数は切り上げる。

 

既発行株式数+

新規発行株式数×1株当たり払込金額

調整後行使価額=調整前行使価額×

新規発行前の1株当たりの時価

既発行株式数+新規発行株式数

上記算式において「既発行株式数」とは、当社普通株式にかかる発行済株式総数から当社普通株式にかかる自己株式数を控除した数とし、また、当社普通株式にかかる自己株式の処分を行う場合には、「新規発行株式数」を「処分する自己株式数」に読み替えるものとする。

さらに、上記のほか、本新株予約権の割当日後、当社が他社と合併する場合、会社分割を行う場合、その他これらの場合に準じて行使価額の調整を必要とする場合には、当社は、合理的な範囲で適切に行使価額の調整を行うことができるものとする。

3.新株予約権の行使条件は以下のとおりであります。

(1)新株予約権者は、新株予約権の権利行使時において、当社又は当社関係会社の取締役、監査役又は従業員であることを要する。ただし、任期満了による退任、定年退職、その他正当な理由があると取締役会が認めた場合は、この限りではない。

(2)新株予約権者は、本新株予約権の目的である当社普通株式が日本国内のいずれかの金融商品取引所に上場された場合に限り、本新株予約権を行使することができる。ただし、取締役会が別途行使を認めた場合は、この限りではない。

(3)新株予約権者の相続人による本新株予約権の行使は認めない。

(4)本新株予約権の行使によって、当社の発行済株式総数が当該時点における発行可能株式総数を超過することとなるときは、当該本新株予約権の行使を行うことはできない。

(5)各本新株予約権1個未満の行使を行うことはできない。

4.会社が新株予約権を取得することができる事由及び取得の条件

(1)当社が消滅会社となる合併契約、当社が分割会社となる会社分割についての分割契約若しくは分割計画、又は当社が完全子会社となる株式交換契約、株式交付計画若しくは株式移転計画について株主総会の承認(株主総会の承認を要しない場合には取締役会決議)がなされた場合は、当社は、当社取締役会が別途定める日の到来をもって、本新株予約権の全部を無償で取得することができる。

(2)新株予約権者が権利行使をする前に、(注)3.に定める規定により本新株予約権の行使ができなくなった場合は、当社は、当社取締役会が別途定める日の到来をもって、行使ができなくなった当該新株予約権を無償で取得することができる。

5.当社が、合併(当社が合併により消滅する場合に限る。)、吸収分割、新設分割、株式交換又は株式移転(以上を総称して以下、「組織再編行為」という。)をする場合において、組織再編行為の効力発生の直前の時点において残存する残存新株予約権の新株予約権者に対し、それぞれの場合につき、会社法第236条第1項第8号のイからホまでに掲げる株式会社(以下、「再編対象会社」という。)の新株予約権を以下の条件に基づきそれぞれ交付することとする。この場合においては、残存新株予約権は消滅し、再編対象会社は新株予約権を新たに発行するものとする。ただし、以下の条件に沿って再編対象会社の新株予約権を交付する旨を、吸収合併契約、新設合併契約、吸収分割契約、新設分割計画、株式交換契約又は株式移転計画において定めた場合に限るものとする。

(1)交付する再編対象会社の新株予約権の数

新株予約権者が保有する新株予約権の数と同一の数をそれぞれ交付する。

(2)新株予約権の目的である再編対象会社の株式の種類

再編対象会社の普通株式とする。

(3)新株予約権の目的である再編対象会社の株式の数

組織再編行為の条件等を勘案の上、本新株予約権の取り決めに準じて決定する。

(4)新株予約権の行使に際して出資される財産の価額

交付される新株予約権の行使に際して出資される財産の価額は、組織再編行為の条件等を勘案のうえ、調整した再編後の払込金額に新株予約権の目的である株式の数を乗じて得られる金額とする。

(5)新株予約権を行使することができる期間

表中「新株予約権の行使期間」に定める行使期間の初日と組織再編行為の効力発生日のうち、いずれか遅い日から表中「新株予約権の行使期間」に定める行使期間の末日までとする。

(6)新株予約権の行使により株式を発行する場合における増加する資本金及び資本準備金に関する事項

本新株予約権の取り決めに準じて決定する。

(7)譲渡による新株予約権の取得の制限

譲渡による新株予約権の取得については、再編対象会社の取締役会の決議による承認を要するものとする。

(8)その他新株予約権の行使の条件

本新株予約権の取り決めに準じて決定する。

(9)新株予約権の取得事由及び条件

本新株予約権の取り決めに準じて決定する。

(10)その他条件については、再編対象会社の条件に準じて決定する。

6.2025年12月12日開催の取締役会決議に基づき、2026年1月8日付で普通株式1株につき100株の割合で株式分割を行っております。これにより「新株予約権の目的となる株式の種類、内容及び数」、「新株予約権の行使時の払込金額」及び「新株予約権の行使により株式を発行する場合の株式の発行価格及び資本組入額」が調整されております。

 

[2]第3回新株予約権①

決議年月日

2024年7月12日

付与対象者の区分及び人数(名)

取締役1名、従業員5名

新株予約権の数(個)※

1,500(注)1

新株予約権の目的となる株式の種類、内容及び数(株)※

普通株式1,500[150,000](注)1・6

新株予約権の行使時の払込金額(円)※

42,000[420](注)2・6

新株予約権の行使期間※

2027年1月1日~2034年5月31日

新株予約権の行使により株式を発行する場合の株式の発行価格及び資本組入額(円)※

発行価格42,000[420](注)6

資本組入額21,000[210](注)6

新株予約権の行使の条件※

(注)3

新株予約権の譲渡に関する事項※

譲渡による募集新株予約権の取得については、当社取締役会の決議による承認を要するものとする。

組織再編成行為に伴う新株予約権の交付に関する事項※

(注)5

※ 当事業年度の末日(2025年3月31日)における内容を記載しております。最近事業年度の末日から提出日の前月末現在(2026年2月28日)にかけて変更された事項については、提出日の前月末現在における内容を[ ]内に記載しており、その他の事項については最近事業年度の末日における内容から変更はありません。

 

 (注)1.新株予約権1個につき目的となる株式数は、最近事業年度の末日現在は1株、提出日の前月末現在は100株であります。

ただし、新株予約権の割当日後、当社が株式分割又は併合を行う場合には、次の算式により目的となる株式の数を調整し、調整により生じる1株未満の株数は切り捨てるものとする。

調整後付与株式数=調整前付与株式数×分割(又は併合)の比率

新株予約権の割当日後、当社が合併、会社分割又は資本金の額の減少を行う場合その他これらの場合に準じ付与株式数の調整を必要とする場合には、合理的な範囲で、付与株式数は適切に調整されるものとする。

2.新株予約権の割当日後、当社普通株式の株式分割、株式併合を行う場合、次の算式により行使価額を調整し、調整により生ずる1円未満の端数は切り上げるものとする。

調整後行使価額=調整前行使価額×

分割(又は併合)の比率

また、本新株予約権の割当日後、当社が当社普通株式につき時価を下回る価額で新株の発行又は自己株式の処分を行う場合(新株予約権の行使に基づく新株の発行及び自己株式の処分並びに株式交換による自己株式の移転の場合を除く。)、次の算式により行使価額を調整し、調整による1円未満の端数は切り上げる。

 

既発行株式数+

新規発行株式数×1株当たり払込金額

調整後行使価額=調整前行使価額×

新規発行前の1株当たりの時価

既発行株式数+新規発行株式数

上記算式において「既発行株式数」とは、当社普通株式にかかる発行済株式総数から当社普通株式にかかる自己株式数を控除した数とし、また、当社普通株式にかかる自己株式の処分を行う場合には、「新規発行株式数」を「処分する自己株式数」に読み替えるものとする。

さらに、上記のほか、本新株予約権の割当日後、当社が他社と合併する場合、会社分割を行う場合、その他これらの場合に準じて行使価額の調整を必要とする場合には、当社は、合理的な範囲で適切に行使価額の調整を行うことができるものとする。

3.新株予約権の行使条件は以下のとおりであります。

(1)新株予約権者は、新株予約権の権利行使時において、当社又は当社関係会社の取締役、監査役又は従業員であることを要する。ただし、任期満了による退任、定年退職、その他正当な理由があると取締役会が認めた場合は、この限りではない。

(2)新株予約権者は、本新株予約権の目的である当社普通株式が日本国内のいずれかの金融商品取引所に上場された場合に限り、本新株予約権を行使することができる。ただし、取締役会が別途行使を認めた場合は、この限りではない。

(3)新株予約権者の相続人による本新株予約権の行使は認めない。

(4)本新株予約権の行使によって、当社の発行済株式総数が当該時点における発行可能株式総数を超過することとなるときは、当該本新株予約権の行使を行うことはできない。

(5)各本新株予約権1個未満の行使を行うことはできない。

4.会社が新株予約権を取得することができる事由及び取得の条件

(1)当社が消滅会社となる合併契約、当社が分割会社となる会社分割についての分割契約若しくは分割計画、又は当社が完全子会社となる株式交換契約、株式交付計画若しくは株式移転計画について株主総会の承認(株主総会の承認を要しない場合には取締役会決議)がなされた場合は、当社は、当社取締役会が別途定める日の到来をもって、本新株予約権の全部を無償で取得することができる。

(2)新株予約権者が権利行使をする前に、(注)3.に定める規定により本新株予約権の行使ができなくなった場合は、当社は、当社取締役会が別途定める日の到来をもって、行使ができなくなった当該新株予約権を無償で取得することができる。

5.当社が、合併(当社が合併により消滅する場合に限る。)、吸収分割、新設分割、株式交換又は株式移転(以上を総称して以下、「組織再編行為」という。)をする場合において、組織再編行為の効力発生の直前の時点において残存する残存新株予約権の新株予約権者に対し、それぞれの場合につき、会社法第236条第1項第8号のイからホまでに掲げる株式会社(以下、「再編対象会社」という。)の新株予約権を以下の条件に基づきそれぞれ交付することとする。この場合においては、残存新株予約権は消滅し、再編対象会社は新株予約権を新たに発行するものとする。ただし、以下の条件に沿って再編対象会社の新株予約権を交付する旨を、吸収合併契約、新設合併契約、吸収分割契約、新設分割計画、株式交換契約又は株式移転計画において定めた場合に限るものとする。

(1)交付する再編対象会社の新株予約権の数

新株予約権者が保有する新株予約権の数と同一の数をそれぞれ交付する。

(2)新株予約権の目的である再編対象会社の株式の種類

再編対象会社の普通株式とする。

(3)新株予約権の目的である再編対象会社の株式の数

組織再編行為の条件等を勘案の上、本新株予約権の取り決めに準じて決定する。

(4)新株予約権の行使に際して出資される財産の価額

交付される新株予約権の行使に際して出資される財産の価額は、組織再編行為の条件等を勘案のうえ、調整した再編後の払込金額に新株予約権の目的である株式の数を乗じて得られる金額とする。

(5)新株予約権を行使することができる期間

表中「新株予約権の行使期間」に定める行使期間の初日と組織再編行為の効力発生日のうち、いずれか遅い日から表中「新株予約権の行使期間」に定める行使期間の末日までとする。

(6)新株予約権の行使により株式を発行する場合における増加する資本金及び資本準備金に関する事項

本新株予約権の取り決めに準じて決定する。

(7)譲渡による新株予約権の取得の制限

譲渡による新株予約権の取得については、再編対象会社の取締役会の決議による承認を要するものとする。

(8)その他新株予約権の行使の条件

本新株予約権の取り決めに準じて決定する。

(9)新株予約権の取得事由及び条件

本新株予約権の取り決めに準じて決定する。

(10)その他条件については、再編対象会社の条件に準じて決定する。

6.2025年12月12日開催の取締役会決議に基づき、2026年1月8日付で普通株式1株につき100株の割合で株式分割を行っております。これにより「新株予約権の目的となる株式の種類、内容及び数」、「新株予約権の行使時の払込金額」及び「新株予約権の行使により株式を発行する場合の株式の発行価格及び資本組入額」が調整されております。

 

[3]第3回新株予約権②

決議年月日

2024年9月13日

付与対象者の区分及び人数(名)

当社従業員17名(注)7

新株予約権の数(個)※

930(注)1・6

新株予約権の目的となる株式の種類、内容及び数(株)※

普通株式930[93,000](注)1・6

新株予約権の行使時の払込金額(円)※

42,000[420](注)2・6

新株予約権の行使期間※

2027年1月1日~2034年5月31日

新株予約権の行使により株式を発行する場合の株式の発行価格及び資本組入額(円)※

発行価格42,000[420](注)6

資本組入額21,000[210](注)6

新株予約権の行使の条件※

(注)3

新株予約権の譲渡に関する事項※

譲渡による募集新株予約権の取得については、当社取締役会の決議による承認を要するものとする。

組織再編成行為に伴う新株予約権の交付に関する事項※

(注)5

※ 当事業年度の末日(2025年3月31日)における内容を記載しております。最近事業年度の末日から提出日の前月末現在(2026年2月28日)にかけて変更された事項については、提出日の前月末現在における内容を[]内に記載しており、その他の事項については最近事業年度の末日における内容から変更はありません。

 

 (注)1.新株予約権1個につき目的となる株式数は、最近事業年度の末日現在は1株、提出日の前月末現在は100株であります。

ただし、新株予約権の割当日後、当社が株式分割又は併合を行う場合には、次の算式により目的となる株式の数を調整し、調整により生じる1株未満の株数は切り捨てるものとする。

調整後付与株式数=調整前付与株式数×分割(又は併合)の比率

新株予約権の割当日後、当社が合併、会社分割又は資本金の額の減少を行う場合その他これらの場合に準じ付与株式数の調整を必要とする場合には、合理的な範囲で、付与株式数は適切に調整されるものとする。

2.新株予約権の割当日後、当社普通株式の株式分割、株式併合を行う場合、次の算式により行使価額を調整し、調整により生ずる1円未満の端数は切り上げるものとする。

調整後行使価額=調整前行使価額×

分割(又は併合)の比率

また、本新株予約権の割当日後、当社が当社普通株式につき時価を下回る価額で新株の発行又は自己株式の処分を行う場合(新株予約権の行使に基づく新株の発行及び自己株式の処分並びに株式交換による自己株式の移転の場合を除く。)、次の算式により行使価額を調整し、調整による1円未満の端数は切り上げる。

 

既発行株式数+

新規発行株式数×1株当たり払込金額

調整後行使価額=調整前行使価額×

新規発行前の1株当たりの時価

既発行株式数+新規発行株式数

上記算式において「既発行株式数」とは、当社普通株式にかかる発行済株式総数から当社普通株式にかかる自己株式数を控除した数とし、また、当社普通株式にかかる自己株式の処分を行う場合には、「新規発行株式数」を「処分する自己株式数」に読み替えるものとする。

さらに、上記のほか、本新株予約権の割当日後、当社が他社と合併する場合、会社分割を行う場合、その他これらの場合に準じて行使価額の調整を必要とする場合には、当社は、合理的な範囲で適切に行使価額の調整を行うことができるものとする。

3.新株予約権の行使条件は以下のとおりであります。

(1)新株予約権者は、新株予約権の権利行使時において、当社又は当社関係会社の取締役、監査役又は従業員であることを要する。ただし、任期満了による退任、定年退職、その他正当な理由があると取締役会が認めた場合は、この限りではない。

(2)新株予約権者は、本新株予約権の目的である当社普通株式が日本国内のいずれかの金融商品取引所に上場された場合に限り、本新株予約権を行使することができる。ただし、取締役会が別途行使を認めた場合は、この限りではない。

(3)新株予約権者の相続人による本新株予約権の行使は認めない。

(4)本新株予約権の行使によって、当社の発行済株式総数が当該時点における発行可能株式総数を超過することとなるときは、当該本新株予約権の行使を行うことはできない。

(5)各本新株予約権1個未満の行使を行うことはできない。

4.会社が新株予約権を取得することができる事由及び取得の条件

(1)当社が消滅会社となる合併契約、当社が分割会社となる会社分割についての分割契約若しくは分割計画、又は当社が完全子会社となる株式交換契約、株式交付計画若しくは株式移転計画について株主総会の承認(株主総会の承認を要しない場合には取締役会決議)がなされた場合は、当社は、当社取締役会が別途定める日の到来をもって、本新株予約権の全部を無償で取得することができる。

(2)新株予約権者が権利行使をする前に、(注)3.に定める規定により本新株予約権の行使ができなくなった場合は、当社は、当社取締役会が別途定める日の到来をもって、行使ができなくなった当該新株予約権を無償で取得することができる。

5.当社が、合併(当社が合併により消滅する場合に限る。)、吸収分割、新設分割、株式交換又は株式移転(以上を総称して以下、「組織再編行為」という。)をする場合において、組織再編行為の効力発生の直前の時点において残存する残存新株予約権の新株予約権者に対し、それぞれの場合につき、会社法第236条第1項第8号のイからホまでに掲げる株式会社(以下、「再編対象会社」という。)の新株予約権を以下の条件に基づきそれぞれ交付することとする。この場合においては、残存新株予約権は消滅し、再編対象会社は新株予約権を新たに発行するものとする。ただし、以下の条件に沿って再編対象会社の新株予約権を交付する旨を、吸収合併契約、新設合併契約、吸収分割契約、新設分割計画、株式交換契約又は株式移転計画において定めた場合に限るものとする。

(1)交付する再編対象会社の新株予約権の数

新株予約権者が保有する新株予約権の数と同一の数をそれぞれ交付する。

(2)新株予約権の目的である再編対象会社の株式の種類

再編対象会社の普通株式とする。

(3)新株予約権の目的である再編対象会社の株式の数

組織再編行為の条件等を勘案の上、本新株予約権の取り決めに準じて決定する。

(4)新株予約権の行使に際して出資される財産の価額

交付される新株予約権の行使に際して出資される財産の価額は、組織再編行為の条件等を勘案のうえ、調整した再編後の払込金額に新株予約権の目的である株式の数を乗じて得られる金額とする。

(5)新株予約権を行使することができる期間

表中「新株予約権の行使期間」に定める行使期間の初日と組織再編行為の効力発生日のうち、いずれか遅い日から表中「新株予約権の行使期間」に定める行使期間の末日までとする。

(6)新株予約権の行使により株式を発行する場合における増加する資本金及び資本準備金に関する事項

本新株予約権の取り決めに準じて決定する。

(7)譲渡による新株予約権の取得の制限

譲渡による新株予約権の取得については、再編対象会社の取締役会の決議による承認を要するものとする。

(8)その他新株予約権の行使の条件

本新株予約権の取り決めに準じて決定する。

(9)新株予約権の取得事由及び条件

本新株予約権の取り決めに準じて決定する。

(10)その他条件については、再編対象会社の条件に準じて決定する。

6.2025年12月12日開催の取締役会決議に基づき、2026年1月8日付で普通株式1株につき100株の割合で株式分割を行っております。これにより「新株予約権の目的となる株式の種類、内容及び数」、「新株予約権の行使時の払込金額」及び「新株予約権の行使により株式を発行する場合の株式の発行価格及び資本組入額」が調整されております。

7.付与対象者の退職による権利の喪失により、本提出日現在の「付与対象者の区分及び人数」は当社従業員16名となっております。

 

[4]第4回新株予約権

決議年月日

2025年3月14日

付与対象者の区分及び人数(名)

取締役1名、従業員91名(注)7

新株予約権の数(個)※

1,570[1,494](注)1・6

新株予約権の目的となる株式の種類、内容及び数(株)※

普通株式1,570[149,400](注)1・6

新株予約権の行使時の払込金額(円)※

42,000[420](注)2・6

新株予約権の行使期間※

2027年6月1日~2034年5月31日

新株予約権の行使により株式を発行する場合の株式の発行価格及び資本組入額(円)※

発行価格42,000[420](注)6

資本組入額21,000[210](注)6

新株予約権の行使の条件※

(注)3

新株予約権の譲渡に関する事項※

譲渡による募集新株予約権の取得については、当社取締役会の決議による承認を要するものとする。

組織再編成行為に伴う新株予約権の交付に関する事項※

(注)5

※ 当事業年度の末日(2025年3月31日)における内容を記載しております。最近事業年度の末日から提出日の前月末現在(2026年2月28日)にかけて変更された事項については、提出日の前月末現在における内容を[]内に記載しており、その他の事項については最近事業年度の末日における内容から変更はありません。

 

 (注)1.新株予約権1個につき目的となる株式数は、最近事業年度の末日現在は1株、提出日の前月末現在は100株であります。

ただし、新株予約権の割当日後、当社が株式分割又は併合を行う場合には、次の算式により目的となる株式の数を調整し、調整により生じる1株未満の株数は切り捨てるものとする。

調整後付与株式数=調整前付与株式数×分割(又は併合)の比率

新株予約権の割当日後、当社が合併、会社分割又は資本金の額の減少を行う場合その他これらの場合に準じ付与株式数の調整を必要とする場合には、合理的な範囲で、付与株式数は適切に調整されるものとする。

2.新株予約権の割当日後、当社普通株式の株式分割、株式併合を行う場合、次の算式により行使価額を調整し、調整により生ずる1円未満の端数は切り上げるものとする。

調整後行使価額=調整前行使価額×

分割(又は併合)の比率

また、本新株予約権の割当日後、当社が当社普通株式につき時価を下回る価額で新株の発行又は自己株式の処分を行う場合(新株予約権の行使に基づく新株の発行及び自己株式の処分並びに株式交換による自己株式の移転の場合を除く。)、次の算式により行使価額を調整し、調整による1円未満の端数は切り上げる。

 

既発行株式数+

新規発行株式数×1株当たり払込金額

調整後行使価額=調整前行使価額×

新規発行前の1株当たりの時価

既発行株式数+新規発行株式数

上記算式において「既発行株式数」とは、当社普通株式にかかる発行済株式総数から当社普通株式にかかる自己株式数を控除した数とし、また、当社普通株式にかかる自己株式の処分を行う場合には、「新規発行株式数」を「処分する自己株式数」に読み替えるものとする。

さらに、上記のほか、本新株予約権の割当日後、当社が他社と合併する場合、会社分割を行う場合、その他これらの場合に準じて行使価額の調整を必要とする場合には、当社は、合理的な範囲で適切に行使価額の調整を行うことができるものとする。

3.新株予約権の行使条件は以下のとおりであります。

(1)新株予約権者は、新株予約権の権利行使時において、当社又は当社関係会社の取締役、監査役又は従業員であることを要する。ただし、任期満了による退任、定年退職、その他正当な理由があると取締役会が認めた場合は、この限りではない。

(2)新株予約権者は、本新株予約権の目的である当社普通株式が日本国内のいずれかの金融商品取引所に上場された場合に限り、本新株予約権を行使することができる。ただし、取締役会が別途行使を認めた場合は、この限りではない。

(3)新株予約権者の相続人による本新株予約権の行使は認めない。

(4)本新株予約権の行使によって、当社の発行済株式総数が当該時点における発行可能株式総数を超過することとなるときは、当該本新株予約権の行使を行うことはできない。

(5)各本新株予約権1個未満の行使を行うことはできない。

4.会社が新株予約権を取得することができる事由及び取得の条件

(1)当社が消滅会社となる合併契約、当社が分割会社となる会社分割についての分割契約若しくは分割計画、又は当社が完全子会社となる株式交換契約、株式交付計画若しくは株式移転計画について株主総会の承認(株主総会の承認を要しない場合には取締役会決議)がなされた場合は、当社は、当社取締役会が別途定める日の到来をもって、本新株予約権の全部を無償で取得することができる。

(2)新株予約権者が権利行使をする前に、(注)3.に定める規定により本新株予約権の行使ができなくなった場合は、当社は、当社取締役会が別途定める日の到来をもって、行使ができなくなった当該新株予約権を無償で取得することができる。

5.当社が、合併(当社が合併により消滅する場合に限る。)、吸収分割、新設分割、株式交換又は株式移転(以上を総称して以下、「組織再編行為」という。)をする場合において、組織再編行為の効力発生の直前の時点において残存する残存新株予約権の新株予約権者に対し、それぞれの場合につき、会社法第236条第1項第8号のイからホまでに掲げる株式会社(以下、「再編対象会社」という。)の新株予約権を以下の条件に基づきそれぞれ交付することとする。この場合においては、残存新株予約権は消滅し、再編対象会社は新株予約権を新たに発行するものとする。ただし、以下の条件に沿って再編対象会社の新株予約権を交付する旨を、吸収合併契約、新設合併契約、吸収分割契約、新設分割計画、株式交換契約又は株式移転計画において定めた場合に限るものとする。

(1)交付する再編対象会社の新株予約権の数

新株予約権者が保有する新株予約権の数と同一の数をそれぞれ交付する。

(2)新株予約権の目的である再編対象会社の株式の種類

再編対象会社の普通株式とする。

(3)新株予約権の目的である再編対象会社の株式の数

組織再編行為の条件等を勘案の上、本新株予約権の取り決めに準じて決定する。

(4)新株予約権の行使に際して出資される財産の価額

交付される新株予約権の行使に際して出資される財産の価額は、組織再編行為の条件等を勘案のうえ、調整した再編後の払込金額に新株予約権の目的である株式の数を乗じて得られる金額とする。

(5)新株予約権を行使することができる期間

表中「新株予約権の行使期間」に定める行使期間の初日と組織再編行為の効力発生日のうち、いずれか遅い日から表中「新株予約権の行使期間」に定める行使期間の末日までとする。

(6)新株予約権の行使により株式を発行する場合における増加する資本金及び資本準備金に関する事項

本新株予約権の取り決めに準じて決定する。

(7)譲渡による新株予約権の取得の制限

譲渡による新株予約権の取得については、再編対象会社の取締役会の決議による承認を要するものとする。

(8)その他新株予約権の行使の条件

本新株予約権の取り決めに準じて決定する。

(9)新株予約権の取得事由及び条件

本新株予約権の取り決めに準じて決定する。

(10)その他条件については、再編対象会社の条件に準じて決定する。

6.2025年12月12日開催の取締役会決議に基づき、2026年1月8日付で普通株式1株につき100株の割合で株式分割を行っております。これにより「新株予約権の目的となる株式の種類、内容及び数」、「新株予約権の行使時の払込金額」及び「新株予約権の行使により株式を発行する場合の株式の発行価格及び資本組入額」が調整されております。

7.付与対象者の退職による権利の喪失により、本提出日現在の「付与対象者の区分及び人数」は当社取締役1名、当社従業員83名となっております。

 

 

②【ライツプランの内容】

 該当事項はありません。

 

③【その他の新株予約権等の状況】

 該当事項はありません。

 

(3)【発行済株式総数、資本金等の推移】

年月日

発行済株式総数増減数(株)

発行済株式総数残高(株)

資本金増減額

(千円)

資本金残高

(千円)

資本準備金増減額(千円)

資本準備金残高(千円)

2020年7月28日

(注)1

19,015

43,123

104,582

275,122

104,582

70,540

2021年10月1日

(注)2

43,123

△175,122

100,000

31,868

206,990

2026年1月8日

(注)3

4,269,177

4,312,300

100,000

 (注)1.有償第三者割当増資19,015株

発行価額11,000円

資本組入額5,500円

2.2021年6月21日開催の第3回定時株主総会決議において、会社法第447条第1項及び第448条第1項の規定に基づき、資本金額275,122千円のうち、175,122千円を減少し、その他資本剰余金へ振り替えるとともに、増加後のその他資本剰余金を繰越利益剰余金に振り替え、欠損填補を行っております。(減資割合63.7%)

3.2026年1月8日に普通株式1株を100株に分割したことにより、4,269,177株増加しております。

 

(4)【所有者別状況】

 

 

 

 

 

 

 

2026年2月28日現在

区分

株式の状況(1単元の株式数100株)

単元未満

株式の状況

(株)

政府及び

地方公共

団体

金融機関

金融商品

取引業者

その他の

法人

外国法人等

個人その他

個人以外

個人

株主数(人)

4

19

23

所有株式数(単元)

24,325

18,798

43,123

所有株式数の割合(%)

56.41

43.59

100

 

(5)【議決権の状況】

①【発行済株式】

 

 

 

 

2026年2月28日現在

区分

株式数(株)

議決権の数(個)

内容

無議決権株式

 

議決権制限株式(自己株式等)

 

議決権制限株式(その他)

 

完全議決権株式(自己株式等)

 

完全議決権株式(その他)

普通株式

4,312,300

43,123

株主としての権利内容に何ら限定のない当社における標準となる株式であります。1単元の株式数は、100株であります。

単元未満株式

 

発行済株式総数

 

4,312,300

総株主の議決権

 

43,123

 (注) 当社は2025年12月12日開催の取締役会決議により、2026年1月8日付で普通株式1株につき100株の割合で株式分割を行っております。また2026年1月7日付の臨時株主総会決議による定款変更により、1単元を100株とする単元株制度を採用しております。

 

②【自己株式等】

 該当事項はありません

 

2【自己株式の取得等の状況】

【株式の種類等】 該当事項はありません。

 

(1)【株主総会決議による取得の状況】

 該当事項はありません。

 

(2)【取締役会決議による取得の状況】

 該当事項はありません。

 

(3)【株主総会決議又は取締役会決議に基づかないものの内容】

 該当事項はありません。

 

(4)【取得自己株式の処理状況及び保有状況】

 該当事項はありません。

 

 

 

3【配当政策】

 当社は、株主に対する利益還元を重要な経営課題の一つとして認識しておりますが、事業拡大のための投資及び財務基盤の強化が最優先の課題であると認識しており、そのバランスを見極めながら、必要な内部留保を確保し安定した配当ができる体制が整った後に継続的に実施していくことを基本方針としております。

 内部留保資金につきましては、経営基盤の長期安定に向けた財務体質の強化及び事業の継続的な拡大発展を実現させるための資金として、有効に活用していく所存であります。一方で、将来的には、経営環境及び業績、投資計画、財政状態等を勘案し株主への利益還元を検討していく方針であり、当事業年度を含め配当を行っておりません。当社の剰余金の配当は、中間配当及び期末配当の年2回を基本的な方針としており、剰余金の中間配当及び、期末配当を行う決定機関は取締役会となっております。なお、会社法第454条第5項に規定する中間配当を取締役会の決議によって毎年9月末日を基準日として行うことができる旨を定款に定めております。

 

4【コーポレート・ガバナンスの状況等】

(1)【コーポレート・ガバナンスの概要】

① コーポレート・ガバナンスに関する基本的な考え方

 当社はM&Aのハードルを下げることで、多くの価値ある事業を次世代に繋ぐことを目標とし、「誰でも、何処でも、簡単に、自由に、M&Aが出来る社会を実現する」をビジョンとして掲げております。

 当ビジョンを実現するために株主をはじめとして、取引先、従業員、地域社会等の全てのステークホルダーからの付託に応えることを目指しております。このためには、透明・公正かつ迅速・果断な意思決定を行うための仕組みが必須であると考えております。

 この仕組みとして、当社は、2025年6月24日に監査役会設置会社から監査等委員会設置会社に移行し、独立社外取締役を招聘し、また、監査権や意見陳述権を有する監査等委員である取締役が取締役会において議決権を行使する体制を整え、取締役会による経営に対する監督機能を強化すると同時に、業務執行にかかる意思決定の迅速化を図るため、執行役員制度を導入しております。

 

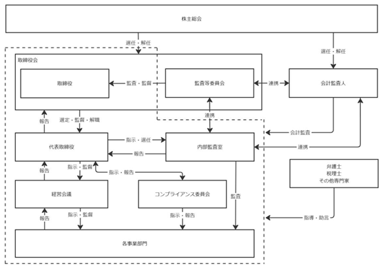
② 企業統治の体制の概要及び当該体制を採用する理由

企業統治の体制の概要

 当社は、取締役会の監査・監督機能を強化するとともに、業務の執行に係る意思決定を迅速に行うことを目的として、監査等委員会設置会社制度を採用しております。

 その他の組織も含めた具体的な体制は以下のとおりであります。

0204010_001.png

 

(a)取締役会

 取締役会は、定時取締役会を原則月1回開催するほか、重要案件発生時には随時臨時取締役会を開催し、法令、定款及び取締役会規程等に定められた事項の審議・決定並びに取締役の業務執行状況を監督・監視しております。また、経営の監督・監視機能を強化するため、社外取締役については、当社の業務執行に携わらない客観的な立場からの経営判断を受けることで、取締役会の監督機能強化を図っております。

取締役会の活動状況

 当社は最近事業年度において取締役会を年14回開催しており、個々の取締役の出席状況については、以下のとおりであります。

役職

氏名

開催回数

出席回数

代表取締役

神瀬 悠一

14回

14回

常務取締役

宮竹 秀太郎

14回

14回

取締役

鈴木 安夫

14回

14回

取締役

海山 龍明

11回

11回

社外取締役

田中 優子

14回

14回

常勤監査役

永田 靖子

14回

14回

監査役

浅野 恵理

14回

14回

監査役

江端 重信

14回

14回

 (注)1.当社は2025年6月24日開催の定時株主総会をもって、監査役会設置会社から監査等委員会設置会社へ移行しており、永田靖子氏、浅野恵理氏、江端重信氏は監査等委員である取締役に就任しております。

2.海山龍明におきましては、2024年6月17日就任以降の開催回数及び出席回数となります。

 

(b)監査等委員会

 当社では、経営に対する監査の強化を図るため、会社の機関として監査等委員である取締役3名から構成される監査等委員会を設置しております。監査等委員会は、定時監査等委員会を原則として月1回開催し、監査等委員である取締役による監査・監督の向上を図っております。また、監査等委員である取締役は取締役会をはじめとした社内の重要会議にも出席し、必要に応じて意見を述べております。また、監査等委員会は、会計監査人及び内部監査室と積極的に情報交換を行い緊密な連携をとっております。

 監査等委員会委員長は、当社の業務に精通し、コーポレート・ガバナンスに精通した人物を選任し、株主総会に諮っております。その他の監査等委員については、コーポレート・ガバナンスの観点から適切と思える人物を監査等委員である取締役候補者として選任し、株主総会に諮っております。監査等委員である取締役の報酬については、株主総会で総額の報酬決議を得ております。監査等委員である各取締役の報酬については、監査等委員の協議にて決定しております。

構成員の氏名

監査等委員会委員長  永田 靖子

監査等委員      浅野 恵理

監査等委員      江端 重信

監査等委員会の活動状況

 監査等委員会の活動状況は「(3)監査の状況」に記載のとおりであります。

 

(c)業務執行体制

 当社は業務執行レベルでの意思決定の迅速化、業務遂行能力強化を図ることを狙いとして、執行役員制度を導入しております。執行役員は取締役会で選任され、担当部門の責任者として業務執行を行っております。また、原則毎週、業務執行レベルの最高意思決定機関として、「経営会議」(議長:代表取締役CEO)を開催し、取締役会において決定した経営全般の基本方針に基づき、業務執行に関わる個々の重要案件の意思決定にあたり、十分な審議を行っております。経営会議は、常勤取締役及び執行役員で構成されております。

 

 

(d)コンプライアンス委員会

 当社は、当社におけるコンプライアンス及び社会的信用の維持・向上を図ることを目的とした「コンプライアンス規程」を制定しており、その活動推進、体制構築を図る機関として、コンプライアンス委員会を設置しております。コンプライアンス委員会は定例会として隔月に1回、また必要に応じ臨時で開催しており、当社のトラブル/クレームへの対応及び未然防止を含むコンプライアンスに関する事項の審議と方針決定等を行っております。

 コンプライアンス委員会の構成員は以下のとおりです。

宮竹秀太郎(常務取締役CQO・委員長)、皿谷将(執行役員CLO兼CCO)、神瀬悠一(代表取締役CEO)、永田靖子(取締役監査等委員会委員長)、山村文人(執行役員CPO)、米倉雅恵(執行役員人事担当)、内部監査室室長

 

(e)内部監査室

 当社は、業務活動の改善向上及び経営効率の増進に資することを目的とした「内部監査規程」を制定しております。本規程に基づき、代表取締役CEOが任命する監査責任者のもとで内部監査を計画・実施する機関として、内部監査室を設置しております。内部監査室は、事業年度ごとに策定する監査基本計画書に基づき、業務監査・会計監査・特命監査を実施します。監査結果は遅滞なく代表取締役CEOに報告されるとともに、監査等委員とも共有され、指摘事項に対する改善状況の事後確認までを行っております。

 

③ 企業統治に関するその他の事項

(a)内部統制システムの整備状況

 当社は、2025年2月14日に開催の取締役会において、以下のとおり「内部統制システム整備の基本方針」を定めており、当該方針に基づき内部統制システムの運用を行っております。

1.取締役及び使用人の職務の執行が法令及び定款に適合することを確保するための体制

(1)ビジョン、ミッション、バリューを定め、取締役及び使用人(以下「役職員」という。)に、これらの浸透を図る。

(2)当社役職員が遵守しなければならないコンプライアンス基本方針を定め、コンプライアンス委員会を設置し、コンプライアンス規程に基づき、コンプライアンス体制の構築・維持にあたる。

(3)コーポレート部門を管掌する取締役がコンプライアンスに対する整備、運用を統括し、コンプライアンス部門を管掌する執行役員CCO(Chief Compliance Officer)が、当社のコンプライアンス活動を推進する。

(4)定期的にコンプライアンス委員会を開催し、当社のコンプライアンスに関する事項の報告を受け、協議を行う。

(5)当社役職員が法令や社内規程の遵守を徹底するために定期的に教育・研修を実施する。

(6)内部通報窓口を設けることで適時に相談・通報を受け、問題の早期発見、未然の防止、是正を図り、コンプライアンス経営の強化に努める。

(7)当社は、健全な会社経営のため、反社会的勢力とは決して関わりを持たず、また不当な要求には断固としてこれを拒絶する。

2.取締役の職務の執行に係る情報の保存及び管理に関する体制

(1)株主総会議事録、取締役会議事録、計算書類等の法定文書のほか、取締役の職務の執行に係る情報については、法令及び文書管理規程等に基づいて、適切に保存及び管理する。

(2)取締役は、これらの文書等の閲覧を要請した場合、すみやかに閲覧できるものとする。

3.損失の危険の管理に関する規程その他の体制

(1)リスクを的確に把握し、そのリスクの影響度、発生可能性に応じ、事前に適切な対応策を講じる等により、リスクの最小化を図る。

(2)リスクマネジメント規程を制定し、当社役職員は、業務の遂行にあたって、法令、定款及び会社の定める規程などリスク管理に関するルールを遵守し、各種リスクの回避、軽減及び移転その他必要な措置を講じる。

(3)情報セキュリティについて、情報セキュリティ方針及び個人情報保護方針を定め、CCO(Chief Compliance Officer)を情報セキュリティ管理業務の実行責任者とし、コーポレートIT部門が中心となって、情報セキュリティ向上に向けた取組みを行う。

4.取締役の職務の執行が効率的に行われることを確保するための体制

(1)取締役会の経営の意思決定機能及び業務監督機能と、執行役員の業務執行機能を分離することで、意思決定の迅速化と権限及び責任の明確化を図る。

(2)取締役会規程、組織及び職務分掌規程、職務権限規程を定め、役職員の職務や権限、責任の明確化を図る。

(3)取締役会を毎月1回定期的に開催するほか必要に応じて適宜臨時に開催し、機動的に意見交換及び意思決定を行う。

5.監査等委員会の職務を補助すべき使用人に関する事項

(1)取締役会は監査等委員会と協議のうえ、監査等委員会を補助する使用人(以下、「監査スタッフ」という。)を任命し、当該監査業務の補助に当たらせる。

6.監査等委員会の職務を補助すべき使用人の取締役からの独立性に関する事項

(1)監査スタッフは、監査等委員以外の取締役及び上長の指揮・命令は受けないものとする。

(2)監査スタッフの人事異動、人事考課及び懲戒については、常勤監査等委員の同意を得てこれを行う。

7.監査等委員会の職務を補助すべき使用人に対する指示の実効性の確保に関する事項

(1)監査スタッフは、監査等委員に同行して、取締役会その他の重要会議に出席する機会を確保できる。

(2)監査スタッフは、監査等委員に同行して、代表取締役や会計監査人と定期的に意見交換をする場に参加できる。

(3)当社役職員は、監査スタッフの業務が円滑に行われるよう、監査環境の整備に協力する。

(4)監査スタッフは、必要に応じて、弁護士、公認会計士、その他外部専門家を活用して監査業務に関する助言を受けることができる。

8.取締役及び使用人が監査等委員会に報告するための体制その他の監査等委員会への報告に関する体制

(1)監査等委員は、取締役会のほか経営会議等重要な会議に出席し、役職員から職務遂行状況の報告を求めることができる。

(2)当社役職員は、法令に違反する事実、会社に著しい損害を与える恐れのある事実を発見したときは、直ちに監査等委員に報告する。

(3)当社役職員は、監査等委員から業務執行に関する事項の報告を求められた場合には、遅滞なく報告する。

(4)当社役職員が監査等委員に対して直接報告等を行うことができる内部通報窓口を設置する。

9.監査等委員会へ報告をした者が当該報告をしたことを理由として不利な取扱いを受けないことを確保するための体制

(1)監査等委員会へ報告をした当社役職員に対し、当該報告を行ったことを理由として不利な取扱いを行うことを禁止する。

10.監査等委員の職務の執行について生ずる費用の前払又は償還の手続その他の当該職務の執行について生ずる費用又は債務の処理に係る方針に関する事項

(1)監査等委員がその職務の執行について生ずる費用を請求する場合には、当該請求に係る費用が監査等委員の職務の執行に必要でないと認められた場合を除き、すみやかに請求に応じてこれを処理する。

11.その他監査等委員会の監査が実効的に行われることを確保するための体制

(1)監査等委員会には、法令に従い、社外監査等委員を含み、公正かつ透明性を確保する。

(2)監査等委員は、代表取締役と定期的に、経営方針、重大なリスクや対処すべき課題、内部統制システムの整備及び運用状況等について意見交換を行い、相互の意思疎通を図る。

(3)監査等委員は、会計監査人及び内部監査室と定期的に情報交換を行い、相互の連携を図る。

(4)監査等委員は、監査業務に必要と判断した場合は、会社の費用負担にて弁護士、公認会計士、その他外部専門家を活用することができる。

 

(b)リスク管理体制の整備の状況

 当社は企業倫理及び法令順守等の徹底並びに会社損失の最小化を図るため、リスクマネジメント規程及びコンプライアンス規程の制定、コンプライアンス委員会の設置、内部通報制度の導入を行っております。

 

(c)取締役の定数

 当社の取締役(監査等委員である取締役を除く。)は6名以内とし、監査等委員である取締役は3名以内とする旨定款に定めております。

 

(d)取締役選任の決議要件

 取締役選任の決議要件については、議決権を行使することができる株主の議決権の3分の1以上を有する株主が出席し、その議決権の過半数をもって行う旨を定款に定めております。また、取締役の選任決議は、累積投票によらないものとする旨を定款に定めております。

 

(e)剰余金の配当等の決定機関

 当社は、剰余金の配当等会社法第459条第1項各号に定める事項については、法令に別段の定めのある場合を除き、取締役会の決議によって定めることができる旨を定款に定めております。また、会社法第454条第5項の規定に基づき、取締役会の決議によって毎年9月30日を基準日として中間配当をすることができる旨を定款に定めております。これらは、剰余金の配当等を取締役会の権限とすることにより、株主への機動的な利益還元を行うことを目的とするものであります。

 

(f)取締役の責任免除

 当社は、会社法第426条第1項の規定により、取締役会の決議によって、同法第423条第1項の取締役(取締役であった者を含む。)の賠償責任を法令の限度において免除することができる旨を定款に定めております。これは、取締役が職務を遂行するにあたり、その能力を十分に発揮して、期待される役割を果たしうる環境を整備することを目的とするものであります。

 

(g)責任限定契約の内容の概要

 当社は、取締役田中優子氏、取締役(常勤監査等委員)永田靖子氏、取締役(監査等委員)浅野恵理氏及び取締役(監査等委員)江端重信氏との間において、会社法第427条第1項の規定に基づき、会社法第423条第1項に規定する会社に対する損害賠償責任を限定する契約を締結しております。当該責任限定契約に基づく損害賠償責任の限度額は、会社法第425条第1項に定める取締役の最低責任限度額としております。

 

(h)役員等賠償責任保険契約の内容の概要

 当社は、当社の取締役、監査役、執行役員等を被保険者として、会社法第430条の3第1項に規定する役員等賠償責任保険契約を保険会社との間で締結しており、保険料については当社が全額負担しております。当該保険契約は、被保険者が業務について行った行為に起因して損害賠償責任を負った場合における損害賠償金、争訟費用等を補填するものです。ただし、被保険者による犯罪行為や意図的に違法行為を行った場合等については補填の対象外としております。

 

(i)株主総会の特別決議要件

 当社は、会社法第309条第2項に定める株主総会の特別決議要件について、議決権を行使することができる株主の議決権の3分の1以上を有する株主が出席し、その議決権の3分の2以上をもって行う旨を定款に定めております。これは、株主総会における特別決議の定足数を緩和することにより、株主総会の円滑な運営を行うことを目的とするものであります。

 

(j)自己株式の取得

 当社は、会社法第165条第2項の規定により、取締役会の決議をもって、市場取引等による自己株式の取得を行うことができる旨を定款に定めております。これは、機動的に自己株式の取得を行うことを目的とするものであります。

 

 

(2)【役員の状況】

① 役員一覧

男性 5名 女性 3名 (役員のうち女性の比率37.5%)

役職名

氏名

生年月日

略歴

任期

所有株式数

(株)

代表取締役CEO

神瀬 悠一

1977年11月19日

2000年4月 日本ユニシス株式会社(現 BIPROGY株式会社)入社

2005年6月 株式会社NTTデータ経営研究所入社

2012年7月 株式会社リクルート(現 株式会社リクルートホールディングス)入社

2015年4月 株式会社リクルートマーケティングパートナーズ(現 株式会社リクルート)執行役員

2018年4月 株式会社リクルート住まいカンパニー(現 株式会社リクルート)執行役員

2018年4月 株式会社リクルートライフスタイル(現 株式会社リクルート)取締役

2019年4月 当社取締役CMO

2022年3月 当社代表取締役CEO(現任)

(注)4

950,000

常務取締役CQO

宮竹 秀太郎

1978年11月4日

2003年4月 佐川急便株式会社入社

2005年4月 株式会社グッドウィル入社

2007年11月 株式会社スターシップホールディングス常務執行役

2016年4月 株式会社日本M&Aセンター(現 株式会社日本M&Aセンターホールディングス)入社

2018年4月 当社取締役COO

2024年6月 当社常務取締役CQO(現任)

(注)4

599,900

取締役CAO

鈴木 安夫

1972年5月18日

1995年4月 株式会社足利銀行入行

2003年6月 日興コーディアル証券株式会社(現 SMBC日興証券株式会社)へ出向

2004年6月 株式会社日本M&Aセンター(現 株式会社日本M&Aセンターホールディングス)入社

2018年4月 当社非常勤取締役

2020年4月 当社取締役CSO

2024年6月 当社取締役CAO(現任)

(注)4

65,000

取締役COO

海山 龍明

1989年7月23日

2013年4月 デロイトトーマツコンサルティング合同会社入社

2015年6月 株式会社HIT代表取締役

2021年1月 株式会社Wiz執行役員CXO

2021年1月 株式会社フォーカスチャネル代表取締役

2022年5月 同社相談役

2022年6月 株式会社Wiz執行役員CSO

2023年8月 当社執行役員

2024年4月 当社執行役員CMO

2024年6月 当社取締役CMO

2025年4月 当社取締役COO(現任)

(注)4

3,000

取締役

田中 優子

(注)2

1975年5月31日

1999年4月 トヨタ自動車株式会社入社

2003年4月 A.T.カーニー株式会社入社

2006年2月 ジュピターショップチャンネル株式会社入社

2011年7月 A.T.カーニー株式会社消費財プラクティスマネージャー

2014年4月 株式会社クラウドワークス執行役員

2018年3月 株式会社スペースマーケット監査役

2019年12月 株式会社クラウドワークス取締役経営企画室長

2021年3月 株式会社スペースマーケット社外取締役(監査等委員)

2021年5月 株式会社サーバーワークス社外取締役(監査等委員)(現任)

2021年10月 コデアル株式会社監査役

2023年3月 株式会社スペースマーケット社外取締役(現任)

2023年5月 株式会社ユコット代表取締役(現任)

2023年6月 当社 社外取締役(現任)

(注)4

 

 

役職名

氏名

生年月日

略歴

任期

所有株式数

(株)

取締役

(監査等委員)

永田 靖子

(注)3

1970年9月19日

1994年11月 株式会社日本M&Aセンター(現 株式会社日本M&Aセンターホールディングス)入社

2005年12月 プライベートエクイティ株式会社監査役

2006年5月 株式会社経営プランニング研究所監査役

2017年4月 株式会社日本M&Aセンター(現 株式会社日本M&Aセンターホールディングス)上席執行役員管理本部副本部長兼経理部長

2018年4月 当社設立時監査役

2018年6月 株式会社企業評価総合研究所監査役

2023年6月 当社社外常勤監査役

2025年6月 当社取締役(常勤監査等委員)(現任)

(注)5

10,000

取締役

(監査等委員)

浅野 恵理

1970年5月24日

1993年4月 株式会社三和銀行入行(現 株式会社三菱UFJ銀行)

1997年8月 株式会社エスエーサービス(現 三菱UFJウェルスアドバイザーズ株式会社)入社

2002年7月 辻・本郷税理士法人入社

2020年9月 同社シニアパートナー

2023年6月 当社社外監査役

2023年11月 辻・本郷ファミリーオフィス株式会社 入社 代表取締役就任(現任)

2025年6月 当社取締役(監査等委員)(現任)

(注)5

取締役

(監査等委員)

江端 重信

1976年11月11日

2002年10月 弁護士登録 三宅坂総合法律事務所入所

2012年1月 同社パートナー(現任)

2023年6月 当社社外監査役

2025年6月 当社取締役(監査等委員)(現任)

(注)5

1,627,900

 (注)1.取締役田中優子、永田靖子、浅野恵理及び江端重信は社外取締役であります。

2.取締役田中優子の戸籍上の氏名は小林優子であります。

3.取締役永田靖子の戸籍上の氏名は保坂靖子であります。

4.2025年6月24日開催の定時株主総会終結の時から選任後1年以内に終了する事業年度のうち最終のものに関する定時株主総会の終結の時までであります。

5.2025年6月24日開催の定時株主総会終結の時から選任後2年以内に終了する事業年度のうち最終のものに関する定時株主総会の終結の時までであります。

6.当社は執行役員制度を導入しております。執行役員は以下のとおりであります。

役職

氏名

執行役員CFO  : Chief Financial Officer

木村 博史

執行役員CLO  : Chief Legal Officer

兼 CCO    : Chief Compliance Officer

皿谷 将

執行役員CPO  : Chief Product Officer

山村 文人

執行役員CTO  : Chief Technology Officer

鈴木 航平

執行役員人事担当

米倉 雅恵

 

②社外役員の状況

 当社は、経営の透明性・公正性を確保し、経営の執行に対する実効的な監督及び監査を行うためには社外役員の役割が重要と考えており、当社の取締役8名のうち、4名は社外取締役であります。また、監査等委員3名は全員が社外取締役であります。

 当社は、社外取締役を選任するための独立性に関する基準又は方針について定めておりませんが、それぞれ証券取引所の定める独立役員の要件を充たすこと、会社法の定める社外性の要件を充たすこと、及び専門的知識に基づいて客観的な立場から社外取締役としての職務を行うことから、一般株主と利益相反を生じる恐れがなく、十分な独立性を確保できていると考えております。

 当社は2025年6月24日開催の定時株主総会をもって、監査役会設置会社から監査等委員会設置会社へ移行いたしました。以降については監査等委員会設置会社移行前の状況について記載しております。

 社外取締役の田中優子は、当事業年度に開催された取締役会14回全てに出席し客観的・中立的な立場で経営の監督及び助言を行っております。なお、当社との間に、人的関係、資本的関係又は取引関係その他の利害関係はありません。

 社外監査役の永田靖子は当事業年度に開催された取締役会14回全てに、また、監査役会14回全てに出席いたしました。客観的・中立的な立場で経営の監督及び助言を行っており、社外監査役としての機能及び役割を適切に遂行できるものと判断しております。なお、本書提出日現在同氏は当社の普通株式を保有しておりますが、それ以外に当社との間に、人的関係、資本的関係又は取引関係その他の利害関係はありません。

 社外監査役の浅野恵理は当事業年度に開催された取締役会14回全てに、また、監査役会14回全てに出席いたしました。主に税理士としての専門的見地から、客観的・中立的な立場で経営の監督及び助言を行っており、社外監査役としての機能及び役割を適切に遂行できるものと判断しております。なお、当社との間に、人的関係、資本的関係又は取引関係その他の利害関係はありません。

 社外監査役の江端重信は当事業年度に開催された取締役会14回全てに、また、監査役会14回全てに出席いたしました。主に弁護士としての専門的見地から、客観的・中立的な立場で経営の監督及び助言を行っております。なお、当社との間に、人的関係、資本的関係又は取引関係その他の利害関係はありません。

 

③ 社外取締役又は監査等委員である社外取締役による監督又は監査と内部監査、監査等委員会監査及び会計監査との相互連携並びに内部統制部門との関係

 社外取締役は、取締役会への出席等を通じて、監査等委員である社外取締役より、会計監査の状況、内部監査の報告並びに内部統制の状況についての報告を受けております。また、監査等委員との定期的な意見交換を行う等相互の連携を高めております。また、監査等委員会において常勤監査等委員から日常監査の状況として、重要な会議の内容、閲覧した重要書類等の概要、内部統制の状況等についての報告を行う等、十分な意思疎通を図っております。さらに、監査等委員会、内部監査、及び会計監査人は、概ね四半期に1回程度会議を行い、相互の監査情報の交換により緊密な連携関係の構築に努めております。内部統制部門との関係については、社外取締役との意見交換、必要に応じて内部監査からの報告を行っております。

 

(3)【監査の状況】

① 監査等委員会監査の状況

(a)監査等委員会の組織、人員及び手続について

 当社は2025年6月24日より監査等委員会設置会社へ移行いたしました。監査等委員会は、3名の監査等委員(永田靖子氏、浅野恵理氏、江端重信氏)である独立社外取締役で構成されております。このうち永田氏は常勤監査等委員であり、監査等委員会委員長を務めております。また、監査等委員である浅野恵理氏は、税理士の資格を有しており、財務及び会計に相当程度の知見を有しております。また監査等委員である江端重信氏は弁護士の資格を有しており、企業法務に関する相当程度の知見を有しております。

 監査等委員による監査は、毎事業年度策定される監査基本計画書に基づき行っております。日常監査業務を行い、毎月開催される監査等委員会で重要事項の審議、当月に実施した監査結果の報告、監査等委員間の情報共有及び意見交換を行い、取締役会への出席時においても職務執行の監査を行っております。具体的な手続きとしては、取締役会その他重要な会議への出席、代表取締役との意見交換、業務執行取締役等の報告聴取、重要書類の閲覧等を実施しております。

 また、内部監査担当及び会計監査人とは、監査結果の報告等、定期的に情報共有及び意見交換を実施し、効果的かつ効率的な監査の実施に努めております。最近事業年度においては監査等委員会を原則として月1回開催しており、個々の監査等委員の出席状況については次のとおりであります。

 

(常勤監査等委員の役割分担)

 常勤監査等委員は、会計監査人及び内部監査部門との連携を図り、当社の情報を収集しております。また、取締役会を始めとする重要会議へ出席し、代表取締役や使用人等との意思疎通や情報聴取等を定期的に実施しているほか、重要な決裁書類等を閲覧し、業務の適正性の確保について確認を行っております。常勤監査等委員としての活動状況は、監査等委員会で報告し他の監査等委員と共有しております。

 

(b)監査等委員会の活動状況について

(監査等委員会の開催頻度・個々の監査等委員の出席状況)

 監査等委員会設置会社移行前である最近事業年度において当社は監査役会を14回開催しており、個々の監査役の出席状況は以下のとおりであります。

氏名

開催回数

出席回数

永田 靖子

14回

14回

浅野 恵理

14回

14回

江端 重信

14回

14回

 

(監査等委員会の具体的な検討事項)

 監査等委員会は株主の負託を受けた独立の機関として取締役の職務執行の適法性・妥当性を監査し、かつ会計監査人や内部監査部門との緊密な連携をはかることにより、実効的・効率的な監査を実施しています。今後においてもさらなる監査の実効性向上に努めます。

 

② 内部監査の状況

 当社の内部監査は、代表取締役が直轄する部門として、当社グループの事業内容等を検討のうえ、リスクベースで策定し、取締役会の決裁を受けた年度内部監査計画に基づいて、内部監査を実施しております。

 内部監査実施後、監査先への改善指摘とその改善状況のフォローアップが行われております。また、金融商品取引法に基づく内部統制の整備・運用状況の評価を行っております。内部監査の状況及び結果、並びに内部統制の整備・運用状況の評価結果については、代表取締役のみならず、常勤監査等委員及び監査等委員会に対して定期的又は適宜報告を行うほか、監査結果に関連する部門責任者へも情報を共有しております。

 また、監査等委員及び会計監査を実施する監査法人と適宜緊密な情報交換を行い、連携を図っております。2026年2月末現在、内部監査室は2名であり、うち1名については人事総務グループと兼務をしております。なお、人事総務グループへの監査については自己監査とならないよう内部監査室専任者が監査を実施しております。

 

 

③ 会計監査の状況

(a)監査法人の名称

有限責任監査法人トーマツ

 

(b)継続監査期間

2年間

 

(c)業務を執行した公認会計士

指定有限責任社員業務執行社員  中安 正

指定有限責任社員業務執行社員  杉原 伸太朗

 

(d)監査業務に係る補助者の構成

 当社の会計監査業務に係る補助者の構成は、公認会計士7名、会計士試験合格者等2名、その他17名です。

 

(e)監査法人の選定方針と理由

 監査等委員会は、会計監査人である有限責任監査法人トーマツの品質管理体制の整備・運用状況及び同法人当社監査チームの会計監査における品質管理や監査の実施状況につき報告を受け、会計監査の相当性を判断して選定しています。

 

④ 監査報酬の内容等

(a)監査公認会計士等に対する報酬

最近事業年度の前事業年度

最近事業年度

監査証明業務に基づく報酬

(千円)

非監査業務に基づく報酬

(千円)

監査証明業務に基づく報酬

(千円)

非監査業務に基づく報酬

(千円)

18,500

23,000

 

(b)監査公認会計士等と同一のネットワークに対する報酬(a.を除く)

 該当事項はありません。

 

(c)その他の重要な監査証明業務に基づく報酬の内容

 該当事項はありません。

 

(d)監査報酬の決定方針

 当社は監査公認会計士等に対する監査報酬を決定するに当たり、監査公認会計士等より提示される監査計画の内容をもとに、監査工数等の妥当性を勘案、協議し、会社法第399条に基づき、監査等委員会の同意を得た上で決定することとしています。

 

(e)監査等委員会が会計監査人の報酬等に同意した理由

 監査等委員会は、会計監査人の報酬等について、会計監査人の監査計画の内容、会計監査の職務の執行状況及び監査報酬の見積りの算出根拠等必要な情報の入手及び検証を行った結果、会社法第399条第1項の同意をしました。

 

(4)【役員の報酬等】

① 役員の報酬等の額又はその算定方法の決定に関する方針に係る事項

 当社は、2025年6月24日開催の定時株主総会において監査役会設置会社から監査等委員会設置会社へ移行しております。

 監査等委員会設置会社へ移行後の取締役(監査等委員である取締役を除く。)の報酬等の額は、年額3億円以内とすることが決議されており、監査等委員である取締役の報酬等の額は、年額5千万円以内とすることが決議されております。

 なお、監査等委員会設置会社へ移行前の取締役の報酬等の額は、2019年6月10日の株主総会決議において年額1億円以内(当該時点の取締役の員数5名)と決議されており、監査役の報酬等の額は年額5千万円以内(当該時点の監査役の員数3名)と決議されております。

 当社の役員の報酬等の額につきましては、株主総会の決議により、取締役全員の報酬総額の上限額を決定しております。各取締役の報酬等の額については、代表取締役CEO神瀬悠一が、当事業年度の業績、各取締役の担当職務の内容、経営環境、業績への貢献度、実績等を総合的に勘案して、個人別報酬額を取締役会に提案し承認決議しております。

 

② 役員区分ごとの報酬等の総額、報酬等の種類別の総額及び対象となる役員の員数

役員区分

報酬等の総額

(千円)

報酬等の種類別の総額(千円)

 

対象となる役員の員数(名)

固定報酬

業績連動報酬

退職慰労金

左記のうち、

非金銭報酬等

取締役

(社外取締役を除く)

75,333

75,333

4

監査役

(社外監査役を除く)

社外役員

8,600

8,600

4

 

③ 役員ごとの報酬等の総額等

 報酬等の総額が1億円以上である者が存在しないため、記載しておりません。

 

④ 使用人兼務役員の使用人分支給のうち重要なもの

 該当事項はありません。

 

(5)【株式の保有状況】

① 投資株式の区分の基準及び考え方

 当社は、純投資目的である投資株式は保有しておらず、投資株式の区分の基準及び考え方は定めておりません。

 

 

② 保有目的が純投資目的以外の目的である投資株式

 該当事項はありません。

 

③ 保有目的が純投資目的である投資株式

 該当事項はありません。