第4【提出会社の状況】

1【株式等の状況】

(1)【株式の総数等】

①【株式の総数】

種類

発行可能株式総数(株)

普通株式

16,000,000

16,000,000

(注) 2021年9月29日開催の定時株主総会決議に基づき、2021年10月1日を効力発生日とする発行可能株式総数の増加に係る定款変更が行われ、2021年10月1日付で発行可能株式総数は15,800,000株増加し16,000,000株となっております。

 

②【発行済株式】

種類

発行数(株)

上場金融商品取引所名又は

登録認可金融商品取引業協会名

内容

普通株式

4,240,000

非上場

完全議決権株式であり、権利内容に何ら限定のない当社における標準となる株式であります。なお、単元株式数は100株であります。

4,240,000

(注)1.2021年10月29日付の新株予約権の行使により、発行済株式総数は6,000株増加しました。

2.2021年9月29日開催の取締役会決議により、2021年11月1日付で普通株式1株につき40株の割合で株式

分割を行っております。これにより発行済株式総数は4,134,000株増加し、4,240,000株となっておりま

す。

3.2021年11月12日開催の臨時株主総会決議により、単元株制度導入に伴う定款変更を行い、単元株式数を

100株とする単元株制度を導入しております。

 

(2)【新株予約権等の状況】

①【ストックオプション制度の内容】

第1回新株予約権 2020年6月29日臨時株主総会決議

決議年月日

2020年6月29日

付与対象者の区分及び人数(名)

当社取締役   1

新株予約権の数(個) ※

60[-](注)2

新株予約権の目的となる株式の種類、内容及び数(株) ※

普通株式6,000[-] (注)2、9

新株予約権の行使時の払込金額(円) ※

1,265 (注)3、9

新株予約権の行使期間 ※

自 2020年6月30日

至 2030年6月29日

新株予約権の行使により株式を発行する場合の株式の発行価格及び資本組入額(円) ※

発行価格 1,293

資本組入額 647 (注)9

新株予約権の行使の条件 ※

(注)6

新株予約権の譲渡に関する事項 ※

(注)5

組織再編成行為に伴う新株予約権の交付に関する事項 ※

(注)8

※ 最近事業年度の末日(2021年6月30日)における内容を記載しております。最近事業年度の末日から提出日の前月末現在(2022年7月31日)にかけて変更された事項については、提出日の前月末現在における内容を[ ]内に記載しており、その他の事項については最近事業年度の末日における内容から変更はありません。

(注)1.本新株予約権は、新株予約権1個につき2,800円にて有償発行しております。

2.新株予約権1個につき目的となる株式数は、最近事業年度の末日現在は100株であります。ただし、当社が株式分割又は株式併合を行う場合、次の算式により付与株式数を調整し、調整により生じる1株未満の端数はこれを切り捨てる。

調整後株式数=調整前株式数×分割・併合の比率

また、当社が吸収合併、新設合併、吸収分割、新設分割、株式交換もしくは株式移転を行う場合、又はその他やむを得ない事由が生じた場合には、新株予約権の目的となる株式の数は、合理的な範囲で調整されるものとする。

3.当社が株式分割又は株式併合を行う場合、次の算式により行使価額を調整し、調整により生ずる1円未満の端数は切り上げる。

調整後行使価額=調整前行使価額×

分割・併合の比率

また、当社が行使価額を下回る払込金額で募集株式の発行又は自己株式の処分を行う場合(新株予約権の行使に基づく株式の発行・処分を除く)は、次の算式により行使価額を調整し、調整により生じる1円未満の端数は切り上げる。

調整後行使価額=

既発行株式数×調整前行使価額+新規発行株式数×1株当たり払込金額

既発行株式数+新規発行株式数

上記算式において「既発行株式数」とは、当社の発行済株式総数から当社が保有する自己株式数を控除した数とし、自己株式の処分を行う場合には、「新規発行」を「自己株式の処分」、「1株当たり払込金額」を「1株当たり処分金額」と読み替えるものとする。

さらに、上記のほか、当社が吸収合併、新設合併、吸収分割、新設分割、株式交換もしくは株式移転を行う場合、又はその他やむを得ない事由が生じた場合には、行使価額は、合理的な範囲で調整されるものとする。

4.新株予約権の行使により株式を発行する場合において増加する資本金の額は、会社計算規則第17条第1項に従い算出される資本金等増加限度額の2分の1の金額とし、計算の結果1円未満の端数が生じたときは、その端数を切り上げるものとする。本新株予約権の行使により株式を発行する場合において増加する資本準備金の額は、上記の資本金等増加限度額から上記に定める増加する資本金の額を減じた額とする。

5.譲渡による新株予約権の取得については、当社取締役会の決議による承認を要するものとする。

6.新株予約権の行使の条件

 ①新株予約権の割り当てを受けた者(以下「新株予約権者」という。)は、本新株予約権の行使期間において次に掲げる各事由が生じた場合には、新株予約権者は残存するすべての本新株予約権を行使することができない。

 (a)行使価額を下回る価格を対価とする当社普通株式の発行等が行われた場合(払込金額が会社法第199条第3項・同第200条第2項に定める「特に有利な金額である場合」を除く。)

 (b)本新株予約権の目的である当社普通株式が日本国内のいずれの金融商品取引所にも上場されていない場合、行使価額を下回る価格を対価とする売買その他の取引が行われたとき(ただし、資本政策目的等により当該取引時点における株式価値よりも著しく低いと認められる価格で取引が行われた場合を除く。)

 (c)本新株予約権の目的である当社普通株式が日本国内のいずれかの金融商品取引所に上場された場合、当該金融商品取引所における当社普通株式の普通取引の終値が、行使価額を下回る価格となったとき

 ②新株予約権者は、権利行使時においても、当社又は当社子会社の取締役、監査役、執行役員、従業員の地位を有していなければならない。ただし、取締役会が正当な理由があると認めた場合はこの限りではない。

 ③本新株予約権の行使によって、当社の発行済株式総数が当該時点における授権株式数を超過することとなるときは、当該本新株予約権の行使を行うことはできない。

 ④各本新株予約権1個未満の行使を行うことはできない。

7.新株予約権の取得事由

 ①新株予約権者が権利行使をする前に、当社が消滅会社となる合併契約承認の議案又は当社が完全子会社となる株式交換契約承認もしくは株式移転計画承認の議案につき株主総会で承認された場合(株主総会決議が不要の場合は、当社取締役会決議がなされた場合)は、当社は無償で新株予約権を取得することができる。

 ②新株予約権者が権利行使をする前に、新株予約権の行使の条件の規定に該当しなくなった場合、及び新株予約権者が保有する新株予約権を放棄した場合には、当社は無償で新株予約権を取得することができる。

   8.当社が組織再編行為を実施する際の新株予約権の取扱い

  当社が合併(当社が合併により消滅する場合に限る。)、吸収分割、新設分割、株式交換又は株式移転(以上を総称して以下「組織再編行為」という。)をする場合において、組織再編行為の効力発生日において残存する新株予約権(以下「残存新株予約権」という。)の新株予約権者に対し、それぞれの場合につき、会社法第236条第1項第8号のイからホまでに掲げる株式会社(以下「再編対象会社」という。)の新株予約権を以下の条件に基づきそれぞれ交付することとする。この場合においては、残存新株予約権は消滅し、再編対象会社は新株予約権を新たに発行するものとする。ただし、以下の条件に沿って再編対象会社の新株予約権を交付する旨を、吸収合併契約、新設合併契約、吸収分割契約、新設分割計画、株式交換契約又は株式移転計画において定めた場合に限るものとする。

 ①交付する再編対象会社の新株予約権の数

  組織再編行為の効力発生の時点において残存する募集新株予約権の新株予約権者が保有する新株予約権の数と同一の数をそれぞれ交付するものとする。

 ②新株予約権の目的である再編対象会社の株式の種類

  再編対象会社の普通株式とする。

 ③新株予約権の目的である再編対象会社の株式の数

  組織再編行為の条件等を勘案のうえ、前記2.に準じて決定する。

 ④新株予約権の行使に際して出資される財産の価額

  交付される各新株予約権の行使に際して出資される財産の価額は、組織再編行為の条件等を勘案のうえ、前記3.で定められた行使価額を調整して得られる再編後払込金額に上記③に従って決定される当該新株予約権の目的である再編対象会社の株式の数を乗じて得られる金額とする。

 ⑤新株予約権を行使することができる期間

  本新株予約権を行使できる期間の開始日と組織再編行為の効力発生日のうちいずれか遅い日から、本新株予約権を行使することができる期間の満了日までとする。

 ⑥新株予約権の行使の条件

  前記6.に準じて決定する。

 ⑦増加する資本金及び資本準備金に関する事項

  前記4.に準じて決定する。

 ⑧譲渡による新株予約権の取得の制限

  譲渡による新株予約権の取得については、再編対象会社の承認を要するものとする。

 ⑨新株予約権の取得事由

  前記7.に準じて決定する。

   9.当社は、2020年12月15日開催の取締役会決議により、2021年2月1日付で普通株式1株につき100株の割合で株式分割を行っております。これにより「新株予約権の目的となる株式の種類、内容及び数」、「新株予約権の行使時の払込金額」、「新株予約権の行使により株式を発行する場合の発行価格及び資本組入額」が調整されております。

10.本新株予約権につきましては、最近事業年度の末日から提出日の前月末現在までの間に、付与対象者が全部行使しております。

 

第2回新株予約権 2020年6月29日臨時株主総会決議

決議年月日

2020年6月29日

付与対象者の区分及び人数(名)

当社取締役   1

当社従業員   16 (注)8

新株予約権の数(個) ※

38[31] (注)1

新株予約権の目的となる株式の種類、内容及び数(株) ※

普通株式3,800[124,000] (注)1、9

新株予約権の行使時の払込金額(円) ※

1,265[32] (注)2、9

新株予約権の行使期間 ※

自 2022年6月30日

至 2030年6月29日

新株予約権の行使により株式を発行する場合の株式の発行価格及び資本組入額(円) ※

発行価格 1,265[32]

資本組入額 633[16](注)9

新株予約権の行使の条件 ※

(注)5

新株予約権の譲渡に関する事項 ※

(注)4

組織再編成行為に伴う新株予約権の交付に関する事項 ※

(注)7

※ 最近事業年度の末日(2021年6月30日)における内容を記載しております。最近事業年度の末日から提出日の前月末現在(2022年7月31日)にかけて変更された事項については、提出日の前月末現在における内容を[ ]内に記載しており、その他の事項については最近事業年度の末日における内容から変更はありません。

(注)1.新株予約権1個につき目的となる株式数は、最近事業年度の末日現在は100株、提出日の前月末現在は4,000株であります。ただし、当社が株式分割又は株式併合を行う場合、次の算式により付与株式数を調整し、調整により生じる1株未満の端数はこれを切り捨てる。

調整後株式数=調整前株式数×分割・併合の比率

また、当社が吸収合併、新設合併、吸収分割、新設分割、株式交換もしくは株式移転を行う場合、又はその他やむを得ない事由が生じた場合には、新株予約権の目的となる株式の数は、合理的な範囲で調整されるものとする。

   2.当社が株式分割又は株式併合を行う場合、次の算式により行使価額を調整し、調整により生ずる1円未満の端数は切り上げる。

調整後行使価額=調整前行使価額×

分割・併合の比率

また、当社が行使価額を下回る払込金額で募集株式の発行又は自己株式の処分を行う場合(新株予約権の行使に基づく株式の発行・処分を除く)は、次の算式により行使価額を調整し、調整により生じる1円未満の端数は切り上げる。

調整後行使価額=

既発行株式数×調整前行使価額+新規発行株式数×1株当たり払込金額

既発行株式数+新規発行株式数

上記算式において「既発行株式数」とは、当社の発行済株式総数から当社が保有する自己株式数を控除した数とし、自己株式の処分を行う場合には、「新規発行」を「自己株式の処分」、「1株当たり払込金額」を「1株当たり処分金額」と読み替えるものとする。

さらに、上記のほか、当社が吸収合併、新設合併、吸収分割、新設分割、株式交換もしくは株式移転を行う場合、又はその他やむを得ない事由が生じた場合には、行使価額は、合理的な範囲で調整されるものとする。

   3.新株予約権の行使により株式を発行する場合において増加する資本金の額は、会社計算規則第17条第1項に従い算出される資本金等増加限度額の2分の1の金額とし、計算の結果1円未満の端数が生じたときは、その端数を切り上げるものとする。本新株予約権の行使により株式を発行する場合において増加する資本準備金の額は、上記の資本金等増加限度額から上記に定める増加する資本金の額を減じた額とする。

   4.譲渡による新株予約権の取得については、当社取締役会の決議による承認を要するものとする。

   5.新株予約権の行使の条件

 ①新株予約権の割当を受けた者(以下「新株予約権者」という。)は、権利行使時においても、当社又は当社子会社の取締役、監査役、執行役員、従業員の地位を有していなければならない。ただし、取締役会が正当な理由があると認めた場合は、この限りではない。

 ②当社の普通株式が、いずれかの金融商品取引所に上場し、かつ上場した日から6ヶ月を経過した場合に限り行使できるものとする。

 ③新株予約権者が死亡した場合、その相続人による新株予約権の権利行使は認めないものとする。ただし、取締役会が認めた場合は、この限りではない。

   6.新株予約権の取得事由

 ①新株予約権者が権利行使をする前に、当社が消滅会社となる合併契約承認の議案又は当社が完全子会社となる株式交換契約承認もしくは株式移転計画承認の議案につき株主総会で承認された場合(株主総会決議が不要の場合は、当社取締役会決議がなされた場合)は、当社は無償で新株予約権を取得することができる。

 ②新株予約権者が権利行使をする前に、新株予約権の行使の条件の規定に該当しなくなった場合、及び新株予約権者が保有する新株予約権を放棄した場合には、当社は無償で新株予約権を取得することができる。

   7.当社が組織再編行為を実施する際の新株予約権の取扱い

  当社が合併(当社が合併により消滅する場合に限る。)、吸収分割、新設分割、株式交換又は株式移転(以上を総称して以下「組織再編行為」という。)をする場合において、組織再編行為の効力発生日において残存する新株予約権(以下「残存新株予約権」という。)の新株予約権者に対し、それぞれの場合につき、会社法第236条第1項第8号のイからホまでに掲げる株式会社(以下「再編対象会社」という。)の新株予約権を以下の条件に基づきそれぞれ交付することとする。この場合においては、残存新株予約権は消滅し、再編対象会社は新株予約権を新たに発行するものとする。ただし、以下の条件に沿って再編対象会社の新株予約権を交付する旨を、吸収合併契約、新設合併契約、吸収分割契約、新設分割計画、株式交換契約又は株式移転計画において定めた場合に限るものとする。

 ①交付する再編対象会社の新株予約権の数

  組織再編行為の効力発生の時点において残存する募集新株予約権の新株予約権者が保有する新株予約権の数と同一の数をそれぞれ交付するものとする。

 ②新株予約権の目的である再編対象会社の株式の種類

  再編対象会社の普通株式とする。

 ③新株予約権の目的である再編対象会社の株式の数

  組織再編行為の条件等を勘案のうえ、前記1.に準じて決定する。

 ④新株予約権の行使に際して出資される財産の価額

  交付される各新株予約権の行使に際して出資される財産の価額は、組織再編行為の条件等を勘案のうえ、前記2.で定められた行使価額を調整して得られる再編後払込金額に上記③に従って決定される当該新株予約権の目的である再編対象会社の株式の数を乗じて得られる金額とする。

 ⑤新株予約権を行使することができる期間

  本新株予約権を行使できる期間の開始日と組織再編行為の効力発生日のうちいずれか遅い日から、本新株予約権を行使することができる期間の満了日までとする。

 ⑥新株予約権の行使の条件

  前記5.に準じて決定する。

 ⑦増加する資本金及び資本準備金に関する事項

  前記3.に準じて決定する。

 ⑧譲渡による新株予約権の取得の制限

  譲渡による新株予約権の取得については、再編対象会社の承認を要するものとする。

 ⑨新株予約権の取得事由

  前記6.に準じて決定する。

   8.付与対象者の退職による権利の喪失及び従業員の取締役、監査役就任等により、本書提出日現在の「付与対象者の区分及び人数」は、当社取締役1名、当社監査役1名、当社従業員12名となっております。

   9.当社は、2020年12月15日開催の取締役会決議により、2021年2月1日付で普通株式1株につき100株の株式分割を行っております。また、2021年9月29日開催の取締役会議により、2021年11月1日付けで普通株式1株につき40株の株式分割を行っております。これにより「新株予約権の目的となる株式の種類、内容及び数」、「新株予約権の行使時の払込金額」、「新株予約権の行使により株式を発行する場合の発行価格及び資本組入額」が調整されております。

 

 

第3回新株予約権 2021年6月29日臨時株主総会決議

決議年月日

2021年6月29日

付与対象者の区分及び人数(名)

当社取締役   1

当社従業員   29(注)8

新株予約権の数(個) ※

4,000[3,570] (注)1

新株予約権の目的となる株式の種類、内容及び数(株) ※

普通株式4,000[142,800] (注)1、9

新株予約権の行使時の払込金額(円) ※

12,000[300] (注)2、9

新株予約権の行使期間 ※

自 2023年6月30日

至 2031年6月29日

新株予約権の行使により株式を発行する場合の株式の発行価格

及び資本組入額(円) ※

発行価格  12,000[300]

資本組入額 6,000[150](注)9

新株予約権の行使の条件 ※

(注)5

新株予約権の譲渡に関する事項 ※

(注)4

組織再編成行為に伴う新株予約権の交付に関する事項 ※

(注)7

※ 最近事業年度の末日(2021年6月30日)における内容を記載しております。最近事業年度の末日から提出日の前月末現在(2022年7月31日)にかけて変更された事項については、提出日の前月末現在における内容を[ ]内に記載しており、その他の事項については最近事業年度の末日における内容から変更はありません。

(注)1.新株予約権1個につき目的となる株式数は、最近事業年度の末日現在は1株、提出日の前月末現在は40株であります。ただし、当社が株式分割又は株式併合を行う場合、次の算式により付与株式数を調整し、調整により生じる1株未満の端数はこれを切り捨てる。

調整後株式数=調整前株式数×分割・併合の比率

また、当社が吸収合併、新設合併、吸収分割、新設分割、株式交換もしくは株式移転を行う場合、又はその他やむを得ない事由が生じた場合には、新株予約権の目的となる株式の数は、合理的な範囲で調整されるものとする。

   2.当社が株式分割又は株式併合を行う場合、次の算式により行使価額を調整し、調整により生ずる1円未満の端数は切り上げる。

調整後行使価額=調整前行使価額×

分割・併合の比率

また、当社が行使価額を下回る払込金額で募集株式の発行又は自己株式の処分を行う場合(新株予約権の行使に基づく株式の発行・処分を除く)は、次の算式により行使価額を調整し、調整により生じる1円未満の端数は切り上げる。

調整後行使価額=

既発行株式数×調整前行使価額+新規発行株式数×1株当たり払込金額

既発行株式数+新規発行株式数

上記算式において「既発行株式数」とは、当社の発行済株式総数から当社が保有する自己株式数を控除した数とし、自己株式の処分を行う場合には、「新規発行」を「自己株式の処分」、「1株当たり払込金額」を「1株当たり処分金額」と読み替えるものとする。

さらに、上記のほか、当社が吸収合併、新設合併、吸収分割、新設分割、株式交換もしくは株式移転を行う場合、又はその他やむを得ない事由が生じた場合には、行使価額は、合理的な範囲で調整されるものとする。

   3.新株予約権の行使により株式を発行する場合において増加する資本金の額は、会社計算規則第17条第1項に従い算出される資本金等増加限度額の2分の1の金額とし、計算の結果1円未満の端数が生じたときは、その端数を切り上げるものとする。本新株予約権の行使により株式を発行する場合において増加する資本準備金の額は、上記の資本金等増加限度額から上記に定める増加する資本金の額を減じた額とする。

   4.譲渡による新株予約権の取得については、当社取締役会の決議による承認を要するものとする。

   5.新株予約権の行使の条件

 ①新株予約権の割当を受けた者(以下「新株予約権者」という。)は、権利行使時においても、当社又は当社子会社の取締役、監査役、執行役員、従業員の地位を有していなければならない。ただし、取締役会が正当な理由があると認めた場合は、この限りではない。

 ②当社の普通株式が、いずれかの金融商品取引所に上場し、かつ上場した日から6ヶ月を経過した場合に限り行使できるものとする。

 ③新株予約権者が死亡した場合、その相続人による新株予約権の権利行使は認めないものとする。ただし、取締役会が認めた場合は、この限りではない。

   6.新株予約権の取得事由

 ①新株予約権者が権利行使をする前に、当社が消滅会社となる合併契約承認の議案又は当社が完全子会社となる株式交換契約承認もしくは株式移転計画承認の議案につき株主総会で承認された場合(株主総会決議が不要の場合は、当社取締役会決議がなされた場合)は、当社は無償で新株予約権を取得することができる。

 ②新株予約権者が権利行使をする前に、新株予約権の行使の条件の規定に該当しなくなった場合、及び新株予約権者が保有する新株予約権を放棄した場合には、当社は無償で新株予約権を取得することができる。

   7.当社が組織再編行為を実施する際の新株予約権の取扱い

  当社が合併(当社が合併により消滅する場合に限る。)、吸収分割、新設分割、株式交換又は株式移転(以上を総称して以下「組織再編行為」という。)をする場合において、組織再編行為の効力発生日において残存する新株予約権(以下「残存新株予約権」という。)の新株予約権者に対し、それぞれの場合につき、会社法第236条第1項第8号のイからホまでに掲げる株式会社(以下「再編対象会社」という。)の新株予約権を以下の条件に基づきそれぞれ交付することとする。この場合においては、残存新株予約権は消滅し、再編対象会社は新株予約権を新たに発行するものとする。ただし、以下の条件に沿って再編対象会社の新株予約権を交付する旨を、吸収合併契約、新設合併契約、吸収分割契約、新設分割計画、株式交換契約又は株式移転計画において定めた場合に限るものとする。

 ①交付する再編対象会社の新株予約権の数

  組織再編行為の効力発生の時点において残存する募集新株予約権の新株予約権者が保有する新株予約権の数と同一の数をそれぞれ交付するものとする。

 ②新株予約権の目的である再編対象会社の株式の種類

  再編対象会社の普通株式とする。

 ③新株予約権の目的である再編対象会社の株式の数

  組織再編行為の条件等を勘案のうえ、前記1.に準じて決定する。

 ④新株予約権の行使に際して出資される財産の価額

  交付される各新株予約権の行使に際して出資される財産の価額は、組織再編行為の条件等を勘案のうえ、前記2.で定められた行使価額を調整して得られる再編後払込金額に上記③に従って決定される当該新株予約権の目的である再編対象会社の株式の数を乗じて得られる金額とする。

 ⑤新株予約権を行使することができる期間

  本新株予約権を行使できる期間の開始日と組織再編行為の効力発生日のうちいずれか遅い日から、本新株予約権を行使することができる期間の満了日までとする。

 ⑥新株予約権の行使の条件

  前記5.に準じて決定する。

 ⑦増加する資本金及び資本準備金に関する事項

  前記3.に準じて決定する。

 ⑧譲渡による新株予約権の取得の制限

  譲渡による新株予約権の取得については、再編対象会社の承認を要するものとする。

 ⑨新株予約権の取得事由

  前記6.に準じて決定する。

8.付与対象者の退職による権利の喪失及び従業員の取締役就任等により、本書提出日現在の「付与対象者の区分及び人数」は、当社取締役1名、当社従業員26名となっております。

9.当社は、2021年9月29日開催の取締役会議により、2021年11月1日付けで普通株式1株につき40株の株式分割を行っております。これにより「新株予約権の目的となる株式の種類、内容及び数」、「新株予約権の行使時の払込金額」、「新株予約権の行使により株式を発行する場合の発行価格及び資本組入額」が調整されております。

 

 なお、当社は、2022年9月14日開催予定の取締役会において、2022年9月29日開催予定の定時株主総会にて上程する「当社の取締役及び従業員に対するストックオプション目的の新株予約権の付与(上限発行株数150,000株)、及び2023年3月31日開催予定の取締役会において当該新株予約権を発行すること(割当日:2023年3月31日)」についての決議を行う予定であります。

 

②【ライツプランの内容】

 該当事項はありません。

 

③【その他の新株予約権等の状況】

 該当事項はありません。

 

(3)【発行済株式総数、資本金等の推移】

年月日

発行済株式

総数増減数

(株)

発行済株式

総数残高

(株)

資本金増減額

(千円)

資本金残高

(千円)

資本準備金

増減額

(千円)

資本準備金

残高(千円)

2019年3月15日

(注)1

1,000

1,000

10,000

10,000

2021年2月1日

(注)2

99,000

100,000

10,000

2021年10月29日

(注)3

6,000

106,000

3,879

13,879

3,879

3,879

2021年11月1日

(注)4

4,134,000

4,240,000

13,879

3,879

(注)1.発行済株式総数及び資本金の増加は、会社設立によるものであります。

2.2020年12月15日開催の取締役会決議により、2021年2月1日付で実施した普通株式1株につき100株の株式分割によるものであります。

3.新株予約権の行使によるものであります。

4.2021年9月29日開催の取締役会決議により、2021年11月1日付で実施した普通株式1株につき40株の株式分割によるものであります。

 

(4)【所有者別状況】

 

 

 

 

 

 

 

2022年7月31日現在

区分

株式の状況(1単元の株式数100株)

単元未満株式の状況

(株)

政府及び地方公共団体

金融機関

金融商品取引業者

その他の法人

外国法人等

個人その他

個人以外

個人

株主数(人)

1

16

17

所有株式数

(単元)

7,600

34,800

42,400

所有株式数の割合(%)

17.9

82.1

100

 

(5)【議決権の状況】

①【発行済株式】

 

 

 

 

2022年7月31日現在

区分

株式数(株)

議決権の数(個)

内容

無議決権株式

 

議決権制限株式(自己株式等)

 

議決権制限株式(その他)

 

完全議決権株式(自己株式等)

 

完全議決権株式(その他)

普通株式

4,240,000

42,400

権利内容に何ら限定のない当社における標準となる株式であります。なお単元株式数は100株であります。

単元未満株式

 

発行済株式総数

 

4,240,000

総株主の議決権

 

42,400

(注)1.2021年10月29日付の新株予約権の行使により、発行済株式総数は6,000株増加しました。

2.2021年9月29日開催の取締役会決議により、2021年11月1日付で普通株式1株につき40株の割合で株式

分割を行っております。これにより発行済株式総数は4,134,000株増加し、4,240,000株となっておりま

す。

3.2021年11月12日開催の臨時株主総会決議により、単元株制度導入に伴う定款変更を行い、単元株式数を

100株とする単元株制度を導入しております。

 

②【自己株式等】

 該当事項はありません。

 

2【自己株式の取得等の状況】

【株式の種類等】 該当事項はありません。

 

(1)【株主総会決議による取得の状況】

 該当事項はありません。

 

(2)【取締役会決議による取得の状況】

 該当事項はありません。

 

(3)【株主総会決議又は取締役会決議に基づかないものの内容】

 該当事項はありません。

 

(4)【取得自己株式の処理状況及び保有状況】

 該当事項はありません。

 

3【配当政策】

 当社は、株主に対する利益還元とあわせて、財務体質を強化し、より一層の競争力強化を経営上の重要課題として位置付けております。当社は成長過程にあり、内部留保を充実させて、事業拡大のための新規投資を実行することが、長期的に株主に対する利益還元に資すると考えております。

 そのため、創業から配当は実施しておらず、今後におきましても将来の事業投資と経営基盤の強化を目的に適正な内部留保を確保することを基本方針としております。今後は株主への利益還元と内部留保充実のバランスを総合的に判断し、業績と市場動向の状況に応じて柔軟な対応を行っていく所存でありますが、現時点において配当実施の可能性及びその実施時期等については未定であります。

 なお、内部留保資金は、財務体質の強化及び継続的な事業拡大のための新規投資の資金として、有効に活用してまいります。

 剰余金の配当を行う場合、年1回の剰余金の配当を期末に行うことを基本としており、期末配当の決定機関は株主総会である旨を定款に定めております。また、取締役会の決議によって、毎年12月31日の最終の株主名簿に記載または記録された株主または登録株式質権者に対し、会社法第454条第5項に定める中間配当をすることができる旨を定款に定めております。

 

4【コーポレート・ガバナンスの状況等】

(1)【コーポレート・ガバナンスの概要】

①コーポレート・ガバナンスに関する基本的な考え方

 当社のコーポレート・ガバナンスの目的は、企業経営の透明性と公正性を高め、持続的な成長、発展を遂げ、かつ社会的な責任を果たしていくことが重要であるとの認識に立ち、すべてのステークホルダー(利害関係者)から高い評価を獲得することにより、企業価値の最大化を目指す重要な経営課題と位置付けております。

 こうした目的を実現するために、当社は、健全で透明性が高く、経営環境の変化に迅速に対応できる経営体制の確立を目指し、コーポレート・ガバナンスの体制強化、充実に努めております。

 

②企業統治の体制の概要及び当該体制を採用する理由

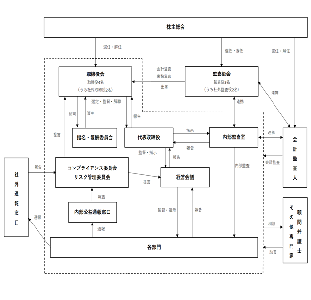
a.会社の機関の基本説明

 当社は、取締役会及び監査役会設置会社であります。当社の経営上の意思決定、執行及び監督に関する機関は、以下のとおりであります。

 

イ.取締役会

 取締役会は、4名の取締役(うち社外取締役2名)で構成され、原則月1回の定時取締役会を開催し、重要な事項はすべて付議され、法令・定款事項その他の重要な業務執行の意思決定及び取締役の業務執行の監督を行っております。

 また、迅速な意思決定が必要な課題が生じた場合には、随時取締役会を開催し、十分な議論の上で経営上の意思決定を行っております。なお、取締役については、経営環境の変化に対する機動性を高めるため、任期を1年としております。

 

ロ.監査役会

 監査役会は、3名の監査役(うち社外監査役2名)であり、会社法に基づき、取締役会に出席し、必要に応じて意見を述べるほか、業務執行の確認を通じ、取締役の職務執行を監査しております。

 なお、監査役会は、内部監査室及び会計監査人と緊密な連携を保ち、情報交換を行い、相互の連携を深め、監査の実効性と効率性の向上を目指しております。

 

ハ.経営会議

 経営会議は、代表取締役社長を含む常勤取締役、本部長、部長、室長及びその他必要と認めた者で構成し、オブザーバーとして常勤監査役も出席しております。原則として毎週1回開催しており、取締役会への上程議案、当社の業務執行に関する重要事項について報告及び協議するとともに、全社的な調整や対策ができる体制を整備しております。

 

ニ.コンプライアンス委員会

 コンプライアンス委員会は、代表取締役社長を含む常勤取締役、常勤監査役、本部長、総務部長、社長室長、経営企画室長、内部監査室長及び社員等から委員長が指名する者で構成しております。コンプライアンス全般に係る企画、立案及び推進を統括し、コンプライアンスの遵守状況について原則として四半期に一度、報告を行っております。

 

ホ.リスク管理委員会

 リスク管理委員会は、代表取締役社長を含む常勤取締役、常勤監査役、本部長、総務部長、社長室長、経営企画室長、内部監査室長及び社員等から委員長が指名する者で構成しております。原則として四半期に一度開催しており、当社の対応すべきリスクについて報告及び審議するとともに、特定されたリスクの評価と対策案の策定を行っております。

 

ヘ.内部監査室

 当社では、代表取締役社長に直属する内部監査室を置いております。内部監査室では、年間の監査計画に基づいてすべての業務部門の内部監査を行い、その結果を代表取締役社長に報告した上で、改善事項が検出された場合には、当該業務部門に対して具体的な改善を求め、改善状況の監視を行っております。

 また、内部監査室は監査役会及び会計監査人と定期的に情報交換を行い相互に連携をとることで、内部監査の充実を図っております。

 

ト.会計監査人

 当社は、太陽有限責任監査法人と監査契約を締結し、会計監査を受けております。会計監査人として必要な独立性を確保し、専門性の維持向上に努め、会計監査を適正に実施するために必要な監査の品質管理の基準を遵守しております。常勤監査役、監査役会及び内部監査室と連携し、監査の有効性を高める体制を構築しております。

 

チ.指名・報酬委員会

 当社は、取締役の指名、報酬などにかかる取締役会の機能の独立性・客観性と説明責任を強化するため、取締役会の任意の諮問機関として、指名・報酬委員会を設置しております。指名・報酬委員会は、独立社外取締役2名と代表取締役1名の計3名で構成し、委員長を同委員会の決議により選出した独立社外役員とすることとし、これにより委員会の独立性・客観性を高めております。

 

 本書提出日現在における当社の取締役会、監査役会、経営会議、コンプライアンス委員会、リスク管理委員会及び指名・報酬委員会の構成員は以下のとおりであります。

(◎:議長、○:参加、□関係者、△:オブザーバーとしての参加権を有する)

役職名

氏名

取締役会

監査役会

経営会議

コンプライアンス

委員会

リスク管理委員会

指名・報酬

委員会

代表取締役社長

三輪 幸将

取締役執行役員

経営管理本部長

赤池 直樹

取締役(社外)

市野澤 剛士

取締役(社外)

白木 政宏

常勤監査役

柳谷 一郎

監査役(社外)

野地 博久

監査役(社外)

平木 太生

社長室長

中䑓 昭二

内部監査室長

大西 伸輔

執行役員

第1営業本部長

森田 創

執行役員

第2営業本部長

塩田 広大

執行役員

カスタマーリレーション本部長

佐藤 翔太

経営企画室長

小林 豪仁

総務部長

寺田 武洋

内部監査室

担当部長

上田 佳郎

社長室担当部長

阿部 勝仁

納品部長

堀田 快

第2営業部長

前川 拓也

第4営業部長

槇 敬輔

 (注)取締役会、監査役会、コンプライアンス委員会、リスク管理委員会及び指名・報酬委員会において、事務局である者は記載しておりません。

 

 

b.コーポレート・ガバナンスの体制

 当社のコーポレート・ガバナンス体制を図示すると、次のとおりであります。

0204010_001.png

c.当該体制を採用する理由

 当社は、当社事業に精通した取締役を中心とする取締役会が経営の基本方針や重要な業務の執行を自ら決定し、強い法的権限を有する監査役が独立した立場から取締役の職務執行を監査する体制が、経営の効率性と健全性を確保するために有効であると判断し、監査役会設置会社を採用しております。

 

 

③企業統治に関するその他の事項

a.内部統制システムの整備の状況

 当社は、業務の適正を確保するための体制(内部統制システム)構築に対する基本方針について、取締役会の決議により、以下のとおり整備するとともに運用の徹底を図っております。また、この基本方針に基づいて業務を適切かつ効率的に執行するため、社内諸規程を制定し、職務権限及び業務分掌を明確に定めることにより、内部統制が適切に機能する体制を整備しております。

 

1.取締役の職務の執行及び使用人が法令及び定款に適合することを確保するための体制

(1)コンプライアンス管理規程を制定し、体系的なコンプライアンス体制の構築を行っております。

(2)取締役は、取締役会規程、取締役内規、組織規程、業務分掌規程、職務権限規程等を制定・遵守し、当該規程等に準拠した職務執行を行い、取締役間における相互牽制システムが有効に働く体制を構築しております。

(3)コンプライアンス委員会を設置し、コンプライアンス研修を実施します。

(4)内部通報及び公益通報者保護規程を制定し、研修により社員への周知徹底を行い、会社組織の自浄作用を行います。

(5)監査役は、複数の社外監査役を選任し、取締役の職務執行の監査を行います。

(6)内部監査室は、業務執行部門から独立し、業務執行が法令、定款及び規程等に適合しているか否かの監査を実施します。

 

2.取締役の職務の執行に係る情報の保存及び管理に関する体制

株主総会、取締役会の議事録、経営及び業務執行に係る重要な情報については、法令及び稟議規程、文書管理規程等に準拠し、適切に記録し、関連資料とともに定められた期間保存管理します。

 

3.損失の危険の管理に関する規程その他の体制

(1)リスク管理体制の基礎となるリスク管理規程を制定し、想定される主要なリスクに対する管理責任者を特定し、規程に準拠したリスク管理体制の構築を推進しております。

(2)商品事故や顧客情報漏洩等のリスクについては、コンプライアンス委員会、総務部及び法律事務所によるリスク対応体制を強化します。

(3)リスク管理責任者を代表取締役社長とし、当社の事業活動に伴う重大なリスクの顕在化を防ぎ、万が一リスクが顕在化した場合の損害を最小限にとどめるためのリスク管理システムを整備し、その適切な運用・管理にあたります。また、リスクが顕在化した場合には、迅速且つ組織的な対応を行い、損害を最小限に抑える体制を整えます。

 

4.取締役の職務の執行が効率的に行われていることを確保するための体制

(1)取締役の職務の執行が効率的に行われていることを確保するための基礎として、定時取締役会を月1回開催するほか、経営会議を開催します。

(2)取締役会は、中期経営計画及び年度総合予算を策定し、各部門が実施すべき具体的な年度目標設定を行い、月次での業績管理を実施します。

(3)取締役会の決定に基づく業務執行については、組織規程、業務分掌規程に基づき、各取締役が職務権限規程に沿って職務を執行します。

 

5.監査役がその職務を補助すべき使用人を置くことを求めた場合における当該使用人に関する事項

監査役は、その職務を補助するために使用人が必要な場合、取締役又は取締役会にその確保を求め、確保された使用人に監査業務に必要な事項を命令することができます。

 

6.監査役の職務を補助すべき使用人の取締役からの独立性に関する事項

(1)監査役より監査役の補助の要請を受けた使用人は、取締役及び上長の指揮・命令は受けないものとします。

(2)当該使用人の人事異動及び考課については、監査役の同意を得るものとします。

 

7.取締役及び使用人が監査役に報告をするための体制その他の監査役への報告に関する体制

(1)取締役は、監査役が出席する取締役会等の重要な会議において担当する業務の執行状況を報告します。

(2)取締役又は使用人は、監査役に対して、当社に著しい損害を及ぼすおそれのある事実を発見したときは、直ちに当該事実を監査役に報告します。

(3)監査役は、稟議書等業務執行に係る重要な文書を閲覧し、取締役及び使用人に説明を求めることができます。

 

8.その他監査役の監査が実効的に行われることを確保するための体制

(1)監査役は、代表取締役社長と定期的に会合を持ち重要な課題、情報に関し意見交換を行います。

(2)当社の取締役及び使用人は、監査役からの求めに応じて速やかに報告し、監査に対応します。

(3)取締役は、監査役が監査法人と会計監査の内容等についての情報交換が十分に行える体制を整えます。

 

9.反社会的勢力の排除に向けた体制

(1)当社では、市民の秩序や安全に脅威を与える反社会的勢力に対し一切の関係をもたず、不当な要求や取引に応じたりすることがないよう毅然とした姿勢で、組織的な対応をします。

(2)総務部を反社会的勢力対応部署として反社会的勢力対処規程を定め、関係行政機関等からの情報収集に努め、またこれらの問題が発生した時は、関係行政機関や顧問弁護士と緊密に連絡をとり組織的に対処できる体制の構築を図ります。

 

b.リスク管理体制の整備の状況

 当社は、全社的にコンプライアンスの正しい理解、徹底を図るため、コンプライアンス管理規程を定め、施行しております。同規程に基づき、コンプライアンスの推進機関としてコンプライアンス委員会を設置し、代表取締役社長を委員長として、関連部署の長を委員として任命しております。さらに営業、制作等の現場の長をコンプライアンス管理者に任命し、コンプライアンス委員会の指揮・指導に基づき、現場でのコンプライアンスの状況を把握し徹底しております。

 また、当社の持つ各種リスクにつきましては、規程を制定・施行しリスク管理を行っております。当社与信先に対する与信リスクは、与信管理規程により与信稟議の実行を行い、反社会的勢力との接触リスクについては、反社会的勢力対処規程に基づき、役員・従業員をはじめとしたすべての顧客に対する反社会的勢力調査を実施しております。なお、個人情報については個人情報管理規程に基づき管理しております。

 

c.取締役の定数

 当社の取締役の定数は、7名以内とする旨、定款で定めております。

 

d.取締役の選任の決議要件

 当社は、取締役の選任決議について、株主総会において議決権を行使することができる株主の議決権の3分の1以上を有する株主が出席し、その議決権の過半数をもって行う旨及び累積投票によらないものとする旨、定款で定めております。

 

e.取締役及び監査役の責任免除の概要

 当社は、取締役及び監査役が期待される役割を十分に発揮できるよう、定款において、取締役(取締役であった者を含む。)及び監査役(監査役であった者を含む。)が会社法第426条第1項の規定により、任務を怠ったことによる損害賠償責任を、法令の限度において、取締役会の決議によって免除することができることとしております。当該責任免除が認められるのは、当該取締役及び監査役が責任の原因となった職務の執行において善意かつ重大な過失がないときに限られます。

 

f.責任限定契約の内容の概要

 当社と社外取締役は、会社法第427条第1項の規定に基づき、同法第423条第1項の損害賠償責任を限定する契約を締結しております。当該契約に基づく損害賠償額の限度額は同法第425条第1項に定める最低責任限度額としております。当該責任限定契約が認められるのは、当該社外取締役が責任の原因となった職務の遂行において善意かつ重大な過失がないときに限られます。

 当社と監査役は、会社法第427条第1項の規定に基づき、同法第423条第1項の損害賠償責任を限定する契約を締結しております。当該契約に基づく損害賠償額の限度額は同法第425条第1項に定める最低責任限度額としております。当該責任限定契約が認められるのは、当該監査役が責任の原因となった職務の遂行において善意かつ重大な過失がないときに限られます。

 

g.株主総会の特別決議要件

 当社は、会社法第309条第2項に定める株主総会の特別決議について、議決権を行使することができる株主の議決権の3分の1以上を有する株主が出席し、その議決権の3分の2以上をもって行う旨、定款で定めております。これは、株主総会における特別決議の定足数を緩和することにより、株主総会の円滑な運営を行うことを目的とするものです。

 

h.中間配当の決定機関

 当社は、取締役会の決議により、毎年12月31日を基準日として中間配当を行うことができる旨を定款で定めております。これは、株主への機動的な利益還元を可能とすることを目的とするものであります。

 

i.自己の株式の取得

 当社は、自己の株式の取得について、経済情勢の変化に対応して財務政策等の経営諸施策を機動的に遂行することを可能とするため、会社法第165条第2項の規定により、取締役会の決議によって市場取引等により自己の株式を取得できる旨を定款に定めております。

 

(2)【役員の状況】

①役員一覧

男性7名 女性-名 (役員のうち女性の比率-%)

役職名

氏名

生年月日

略歴

任期

所有株式数

(株)

代表取締役社長

三輪 幸将

1984年7月14日

2008年6月 株式会社フリーセル

(現 ブランディングテクノロジー株式会社)入社

2011年4月 株式会社ファインズ(旧 株式会社ファインズ)入社

2015年6月 株式会社ファインズ

(旧 株式会社ファインズ)常務取締役就任

2018年2月 アドメイク株式会社代表取締役社長就任

2018年6月 株式会社ファインズ

(旧 株式会社ファインズ)代表取締役社長就任

2019年3月 株式会社エスピーシー(現 当社)

代表取締役社長就任(現任)

(注)3

2,280,000

取締役執行役員経営管理本部長

赤池 直樹

1987年11月15日

2011年4月 株式会社ワイズビジョン

(現 株式会社ytv Nextry)入社

2013年10月 株式会社ファインズ

(旧 株式会社ファインズ)入社

2020年10月 当社経営管理本部長(現任)

2021年7月 当社執行役員(現任)

2022年3月 当社取締役就任(現任)

(注)4

13,700

取締役

市野澤 剛士

1982年6月7日

2004年12月 あずさ監査法人(現 有限責任 あずさ監査法人)入所

2014年12月 弁護士登録

小笠原六川国際総合法律事務所入所

2015年7月 半蔵門総合法律事務所 入所

2017年1月 市野澤法律事務所 入所

2020年6月 株式会社ソルブレイン 社外監査役就任(現任)

2022年3月 当社 社外取締役就任(現任)

(注)4

-

取締役

白木 政宏

1963年4月12日

1984年4月 大阪東芝家電販売株式会社入社

1990年6月 株式会社ネクサス(現 株式会社ジェイ・コミュニケーション)設立

代表取締役社長就任

1997年5月 株式会社エヌディー代表取締役就任(現任)

2005年6月 株式会社ネクサスミュージック代表取締役就任

2005年8月 株式会社ネクサス(現 株式会社ジェイ・コミュニケーション)代表取締役会長兼社長就任

2007年6月 株式会社音空代表取締役就任

2007年6月 SBIリアルマーケティング株式会社取締役就任

2008年2月 株式会社Golden Spoon Japan取締役就任

2009年6月 株式会社ネクサス代表取締役就任(現任)

2011年9月 株式会社KIZUNA取締役就任

2012年1月 株式会社ティーエスエー取締役就任

2012年1月 軒先株式会社取締役就任(現任)

2012年4月 株式会社SHホールディングス取締役就任

2012年10月 株式会社ヘリオス取締役就任

2014年6月 株式会社ファインズ

(旧 株式会社ファインズ)取締役就任

2019年6月 当社取締役就任(現任)

(注)3

200,000

常勤監査役

柳谷 一郎

1957年5月23日

1980年4月 三菱信託銀行株式会社

(現 三菱UFJ信託銀行株式会社)入社

2010年4月 株式会社イーネット入社

2013年4月 クマタ貿易株式会社監査役(非常勤)就任

2015年9月 株式会社マリオン入社取締役常勤監査等委員就任

2017年2月 オスカーテクノロジー株式会社入社

2019年7月 当社入社

2020年9月 当社常勤監査役就任(現任)

(注)5

-

監査役

野地 博久

1967年1月30日

1997年11月 朝日監査法人

(現 有限責任 あずさ監査法人)入所

2003年4月 公認会計士登録

2020年1月 株式会社軽子坂パートナーズ入社(現職)

2020年9月 当社監査役就任(現任)

2022年1月 株式会社ジェノバ社外監査役就任(現任)

(注)5

-

 

 

役職名

氏名

生年月日

略歴

任期

所有株式数

(株)

監査役

平木 太生

1986年10月30日

2009年4月 あずさ監査法人

(現 有限責任 あずさ監査法人)入所

2017年12月 弁護士登録

2018年1月 湊総合法律事務所入所

2018年6月 公認会計士登録

2020年9月 当社監査役就任(現任)

2021年4月 弁護士法人トライデント パートナー就任(現職)

2022年3月 株式会社ソーシャルインテリア社外監査役就任(現任)

(注)5

-

2,493,700

(注)1.取締役市野澤剛士及び白木政宏は、社外取締役であります。

2.監査役野地博久及び平木太生は、社外監査役であります。

3.取締役の任期は、2021年11月12日開催の臨時株主総会の終結の時から選任後1年以内に終了する事業年度のうち、最終のものに関する定時株主総会の終結の時までであります。

4.取締役の任期は、2022年3月30日開催の臨時株主総会の終結の時から選任後1年以内に終了する事業年度のうち、最終のものに関する定時株主総会の終結の時までであります。

5.監査役の任期は、2021年11月12日開催の臨時株主総会の終結の時から選任後4年以内に終了する事業年度のうち、最終のものに関する定時株主総会の終結の時までであります。

6.当社は、執行役員制度を導入しております。執行役員は以下の4名であります。

役名

氏名

職名

取締役執行役員

赤池 直樹

経営管理本部長

執行役員

森田 創

第1営業本部長

執行役員

塩田 広大

第2営業本部長

執行役員

佐藤 翔太

カスタマーリレーション本部長

 

②社外役員の状況

 本書提出日現在において、当社の社外取締役は2名、社外監査役は2名であります。

 取締役市野澤剛士は弁護士、公認会計士としての法律・財務・会計等に関する専門的見地があることから当社の社外取締役として適任であると判断しております。また、同氏と当社との間に人的関係、資本的関係又は取引関係その他の利害関係はありません。

 取締役白木政宏は会社経営者としての豊富な経験と幅広い見識があることから当社の社外取締役として適任であると判断しております。また、同氏は当社株式を200,000株保有しておりますが、それ以外に同氏と当社との間に人的関係、資本的関係又は取引関係その他の利害関係はありません。

 監査役野地博久は公認会計士としての財務・会計等に関する専門的見地があることから当社の社外監査役として適任であると判断しております。また、同氏と当社との間に人的関係、資本的関係又は取引関係その他の利害関係はありません。

 監査役平木太生は弁護士、公認会計士としての法律・財務・会計等に関する専門的見地があることから当社の社外監査役として適任であると判断しております。また、同氏と当社との間に人的関係、資本的関係又は取引関係その他の利害関係はありません。

 当社は、社外取締役の独立性に関する基準や方針についての特段の定めはありませんが、独立性に関しては、株式会社東京証券取引所が定める基準を参考にしており、経営の独立性を確保していると認識しております。
 

③社外取締役又は社外監査役による監督又は監査と内部監査、監査役監査及び会計監査との相互連携並びに内部統制部門との関係

 社外取締役は、取締役会に出席し、決議事項に関する審議や決定に参加するほか、他の取締役の業務執行報告

に関しての監督等を行っております。社外監査役は、取締役会及び監査役会において、専門知識及び豊富な経験に基づき意見・提言を行っております。また、常勤監査役は、取締役や社内の様々な部門に対してヒアリングを行う等、適正な内部統制に関する指摘・指導を行っております。また、会計監査人及び内部監査室とは、定期的に連絡会を実施し、意見交換を行うこと等により、業務の適正性の確保に努めております。

 

(3)【監査の状況】

①監査役監査の状況

 当社における監査役監査は監査役会制度を採用しており、常勤監査役1名及び非常勤監査役2名で構成され、うち2名が社外監査役であります。

 監査役は、監査役会において決定した監査方針、監査役監査計画に基づき、取締役会その他重要な会議に出席し、取締役の職務及び各業務執行部門への執行状況を聴取し、重要な決裁書類の閲覧等を行うことにより、取締役の業務執行と会社経営の適法性を監査しております。また、内部監査室及び会計監査人と定期的に三者連絡会を開催し、情報共有を行うことで相互連携を図っております。また、常勤監査役と内部監査室は、2週間に1回の頻度で連絡会を実施し、それぞれの監査状況の内容及び課題を共有し、相互連携を図っております。

 なお監査役野地博久は公認会計士の資格を有し、財務及び会計に関する相当程度の知見を有しており、監査役平木太生は弁護士及び公認会計士の資格を有し、法務及び会計に関する相当程度の知見を有しております。

 最近事業年度において、当社は監査役会を合計10回開催しており、個々の監査役の出席状況については次のとおりであります。

氏名

開催回数

出席回数(出席率)

柳谷 一郎

10回

10回(100%)

野地 博久

10回

10回(100%)

平木 太生

10回

10回(100%)

 監査役会における主な検討事項は、監査の方針及び監査実施計画、内部統制システムの整備・運用状況、会計監査人の監査の方法及び結果の相当性等となります。

 また、常勤監査役の活動として、代表取締役社長との面談、取締役・執行役員等とのコミュニケーション、取締役会等への出席、その他重要な会議体の議事録の確認、稟議書類等の閲覧、従業員とのコミュニケーション、内部監査人及び会計監査人からの監査実施状況・結果の報告の確認等を行っております。

 

②内部監査の状況

 当社では、内部監査規程に基づき、内部監査室による内部監査を実施することによって、当社における会社業務全般にわたる管理・運営の制度、内部統制システムの整備・運用状況及び業務遂行状況を適法性と合理性の観点から検討・評価し、その結果に基づく改善措置、改善計画等の遂行状況の報告を受けることとしております。内部監査業務従事者は2名であります。また、監査役及び会計監査人と定期的に三者連絡会を開催し、情報共有を行うことで相互連携を図っております。また、常勤監査役とは、2週間に1回の頻度で連絡会を実施し、それぞれの監査状況の内容及び課題を共有し、相互連携を図っております。

 

③会計監査の状況

a.監査法人の名称

 太陽有限責任監査法人

 

b.継続監査期間

 2年間

 

c.業務を執行した公認会計士

 指定有限責任社員 業務執行社員 藤本 浩巳

 指定有限責任社員 業務執行社員 石田 宏

 

d.監査業務に係る補助者の構成

 公認会計士 2名

 その他   6名

 

e.会計監査人の選定方針と理由

 当社は、監査を通じて当社財務情報の信頼性がさらに向上することに必要とされる専門性、独立性及び監査品質管理を有しているかにより、会計監査人を選定しております。太陽有限責任監査法人は当社の会計監査人の選定方針に合致すると判断したため、選定しております。

 

f.監査役及び監査役会による会計監査人の評価

 当社の監査役及び監査役会は、会計監査人に対して評価を行っております。会計監査人が独立の立場を保持し、かつ、適正な監査を実施しているかを監視及び検証するとともに、会計監査人からその職務の執行状況についての報告を受け、必要に応じて説明を求めております。その結果、会計監査人の体制、監査手続等は相当であると評価しております。

 

④監査報酬の内容等

a.監査公認会計士等に対する報酬の内容

最近事業年度の前事業年度

最近事業年度

監査証明業務に基づく報酬

(千円)

非監査業務に基づく報酬

(千円)

監査証明業務に基づく報酬

(千円)

非監査業務に基づく報酬

(千円)

9,090

13,000

 

b.監査公認会計士等と同一のネットワークに属する組織に対する報酬(a.を除く)

 該当事項はありません。

 

c.その他の重要な監査証明業務に基づく報酬の内容

 該当事項はありません。

 

d.監査報酬の決定方針

 当社の監査報酬の決定方針は特に定めておりませんが、当社の事業規模、監査日数及び業務の特性等を勘案して、監査法人との協議の上で、監査役会の同意を得た上で取締役会にて決定することとしております。

 

e.監査役会が会計監査人の報酬等に同意した理由

 取締役会が提案した会計監査人に対する報酬等に対して、当社監査役会が会社法第399条第1項の同意をした理由は、過去の監査実績、同業他社比較及び監査の実効性を確保するために必要な監査日数等を総合的に勘案した結果、妥当であると判断したためであります。

 

(4)【役員の報酬等】

①役員の報酬額等の額又はその算定方法の決定に関する方針に係る事項

 当社は任意の指名・報酬委員会を設置しており、各取締役の報酬額は指名・報酬委員会の協議を経て取締役会において決定します。

 当社の取締役の報酬は、固定報酬とストックオプションで構成されております。非常勤を除く取締役の評価は、前年度及び今年度の業績並びに中期計画における進捗率、その他事情等を考慮し決定します。非常勤取締役は、在任期間中の実績を重視し、会社業績を反映しない固定報酬とします。

 なお、監査役の個別の報酬額は株主総会で承認された報酬額の範囲内において、業務分担の状況等を勘案し、監査役会の決議により決定するものとしています。

 

a.固定報酬

 当社の取締役の報酬等に関する株主総会の決議年月日は2021年9月29日であり、取締役の報酬限度額を年額200,000千円(同株主総会終結時の取締役の員数は3名)と決議しております。また、当社の監査役の報酬等に関する株主総会の決議年月日は2020年9月30日であり、監査役の報酬の限度額を年額30,000千円(同株主総会終結時の監査役の員数は3名)と決議しております。

 

b.業績連動報酬、自社株報酬

 現時点では業績連動報酬、自社株報酬を加味する予定はありませんが、将来的に検討していく予定であります。

 

c.ストックオプション

 2022年9月に開催予定の定時株主総会において、取締役に対して固定報酬とは別に付与する予定であります。

 

 なお、最近事業年度における役員報酬等の額の決定過程における取締役会の活動状況は、2020年9月30日開催の取締役会において、取締役の個別の報酬額の決定を代表取締役社長三輪幸将に一任する決議を行っております。

 委任の理由は、当社を取り巻く経営環境、当社の経営状況を踏まえつつ、各取締役の担当領域や職責について評価を行うには最も適していると判断したためであり、代表取締役社長三輪幸将は、「役員報酬内規」に基づき、株主総会で決議された報酬限度総額の範囲内において、職責、職務執行に対する評価、従業員給与の水準及び業績等を総合的に勘案して各取締役の個別の報酬額を決定しております。

 

②役員区分ごとの報酬等の総額、報酬等の種別の総額及び対象となる役員の員数

役員区分

報酬等の総額

(千円)

報酬等の種類別の総額(千円)

対象となる役員の員数(名)

固定報酬

業績連動報酬

非金銭報酬等

退職慰労金

取締役

(社外取締役を除く)

44,700

44,700

2

監査役

(社外監査役を除く)

5,400

5,400

1

社外取締役

3,600

3,600

1

社外監査役

2,850

2,850

3

 

③役員ごとの報酬等の総額等

 報酬等の総額が1億円以上である者が存在しないため、記載しておりません。

 

④使用人兼務役員の使用人給与のうち重要なもの

 該当事項はありません。

 

(5)【株式の保有状況】

①投資株式の区分の基準及び考え方

 当社は、保有目的が、純投資目的の株式及び純投資目的以外の目的の株式のいずれも保有しておりません。

 

②保有目的が純投資目的以外の目的である投資株式

 該当事項はありません。

 

③保有目的が純投資目的である投資株式

 該当事項はありません。